• 专利申请
    2020-10-26
  • 公布公告
    2021-08-24
  • 授权日期
    2021-08-24
  • 终止
    2031-08-22
一种宠物尿不湿吸水材料施加装置
一种宠物尿不湿吸水材料施加装置
* 专利信息仅供参考,不具有法律效力。 有效专利
CN202022405988.3 2020-10-26 B01F7/16 {{ classMap["B01F7/16"] }}
东台远东纸业有限公司 查看申请人名下所有专利
江苏省盐城市东台市经济开发区纬二路12号
专利分类项目
专利注册信息
初审公告期号 2020-10-26 初审公告日期 2021-08-24
注册公告期号 2021-08-24 注册公告日期 2021-08-24
专用权期限 2021-08-24 - 2031-08-22 专利类型 实用新型
代理组织机构 苏州创策知识产权代理有限公司 查看该机构代理的所有专利
专利介绍
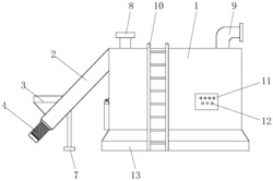
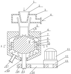
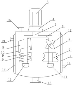
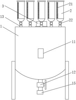
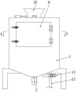
本实用新型公开了一种宠物尿不湿吸水材料施加装置,属于施加装置技术领域,包括下料腔和下料管,所述下料管的底端设置有定量下料组件,所述定量下料组件包括齿条板、定量筒、主动齿轮和步进电机,其中,所述下料管的底端设置有齿条板,所述齿条板的底端对称设置有定量筒,所述齿条板的底端中间位置设置有主动齿轮,所述主动齿轮的一侧设置有步进电机;本实用新型通过设置定量下料组件,提高物料取用的精确度,保证使用质量,防止出现浪费的情况,提高定量取用的便利性,且可对定量筒进行更换,保证设备的适用性,通过设置便捷降尘组件,防止造成工作环境污染,提高工作质量,保证工作的环保性。
法律进度
  • 2021-08-24 授权 ...

同类专利

咨询该专利

您还可以
推荐专利
{{ v.name }}
取 消 确 定