• 专利申请
    2020-09-23
  • 公布公告
    2021-06-01
  • 授权日期
    2021-06-01
  • 终止
    2031-05-30
一种轮胎保护链除锈机构
一种轮胎保护链除锈机构
* 专利信息仅供参考,不具有法律效力。 有效专利
CN202022098611.8 2020-09-23 C23G3/00 {{ classMap["C23G3/00"] }}
天津市钧通机械有限公司 查看申请人名下所有专利
天津市津南区双桥河镇闫家圈村
专利分类项目
专利注册信息
初审公告期号 2020-09-23 初审公告日期 2021-06-01
注册公告期号 2021-06-01 注册公告日期 2021-06-01
专用权期限 2021-06-01 - 2031-05-30 专利类型 实用新型
代理组织机构 北京久维律师事务所 查看该机构代理的所有专利
专利介绍
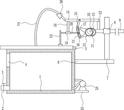
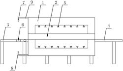
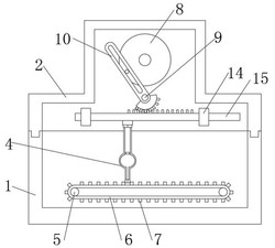
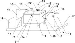
本实用新型公开了一种轮胎保护链除锈机构,包括底板,所述底板顶部一侧设置有除锈箱,且除锈箱内一侧设有一号转动辊和二号转动辊,所述除锈箱一侧通过螺栓安装一号电机和二号电机,且一号电机一侧动力输出端贯穿除锈箱通过联轴器连接一号转动辊,所述二号电机一侧动力输出端贯穿除锈箱通过联轴器连接二号转动辊,所述除锈箱另一侧顶部通过螺栓安装一号输料泵,且一号输料泵底部出料端通过管道连接除锈箱,所述底板顶部另一侧设有过滤箱,且过滤箱一侧通过螺栓安装二号输料泵,所述二号输料泵一侧进料端通过管道连接除锈箱。本实用新型一种轮胎保护链除锈机构,结构合理,使用便捷,适合被广泛推广和使用。
法律进度
  • 2021-06-01 授权 ...

同类专利

咨询该专利

您还可以
推荐专利
{{ v.name }}
取 消 确 定