• 专利申请
    2020-09-10
  • 公布公告
    2021-05-04
  • 授权日期
    2021-05-04
  • 终止
    2031-05-02
一种用于剪板机的刹车装置及剪板机
一种用于剪板机的刹车装置及剪板机
* 专利信息仅供参考,不具有法律效力。 有效专利
CN202021963761.4 2020-09-10 B23D33/00 {{ classMap["B23D33/00"] }}
济南浩岳汽车阻尼材料有限公司 查看申请人名下所有专利
山东省济南市槐荫区段店镇筐里村2号
专利分类项目
专利注册信息
初审公告期号 2020-09-10 初审公告日期 2021-05-04
注册公告期号 2021-05-04 注册公告日期 2021-05-04
专用权期限 2021-05-04 - 2031-05-02 专利类型 实用新型
代理组织机构 济南知来知识产权代理事务所 查看该机构代理的所有专利
专利介绍
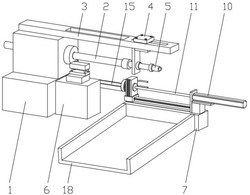
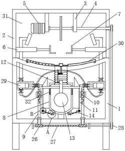
本实用新型公开了一种用于剪板机的刹车装置,包括管体,在所述管体的内部从前向后依次设有刹车块和压紧装置,所述压紧装置的前部与刹车块的后部相接触,所述刹车块延伸至管体的外部;还公开了一种剪板机,包括机架,在所述机架的上部设有刀架,在所述机架的下部设有主轴、安装架、固定架和刹车装置,所述第一角铁固定安装在固定架上;在所述机架的下部还设有加固杆,所述加固杆的一端与第一角铁固定连接,另一端与机架固定连接;所述刹车块与主轴相接触。本实用新型通过刹车块减少主轴运行的惯性,在剪板机在停止运转后,能够使剪刀位于开口且不下落的位置,从而减少调整剪刀位置的工作量,提高生产效率。
法律进度
  • 2021-05-04 授权 ...

同类专利

咨询该专利

您还可以
推荐专利
{{ v.name }}
取 消 确 定