• 专利申请
    2020-08-13
  • 公布公告
    2021-04-20
  • 授权日期
    2021-04-20
  • 终止
    2031-04-18
一种注塑件浇口剪切装置
一种注塑件浇口剪切装置
* 专利信息仅供参考,不具有法律效力。 有效专利
CN202021683770.8 2020-08-13 B29C45/38 {{ classMap["B29C45/38"] }}
苏州市瑞跃威机电制造有限公司 查看申请人名下所有专利
江苏省苏州市吴中区郭巷镇清扬路66号
专利分类项目
专利注册信息
初审公告期号 2020-08-13 初审公告日期 2021-04-20
注册公告期号 2021-04-20 注册公告日期 2021-04-20
专用权期限 2021-04-20 - 2031-04-18 专利类型 实用新型
代理组织机构 南京常青藤知识产权代理有限公司 查看该机构代理的所有专利
专利介绍
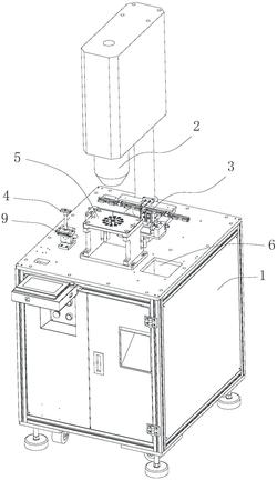
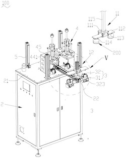
本实用新型公开了一种注塑件浇口剪切装置,包括剪切机构、L形凹槽、第一滑台、第二滑台;第一滑台和第二滑台分别位于L形凹槽的两端且仅能在L形凹槽内直线移动;第一滑台和第二滑台上均固定有治具槽;治具槽的顶部与注塑件浇口的待剪切位置平齐,底部设置有贯穿第一滑台或者第二滑台的真空吸盘;剪切机构位于L形凹槽拐角处的外侧;第一滑台或第二滑台移动至L型凹槽的拐角处时,治具槽的位置相对剪切机构固定;第一滑台和第二滑台间隔移动至L形凹槽的拐角处,在剪切机构对第一滑台上的注塑件切浇口时,能够对第二滑台的注塑件进行更换装夹,节省了装夹时间,提高了剪切机构的剪切效率;剪切机构包括激光切刀,切割效果好质量高。
法律进度
  • 2021-04-20 授权 ...

同类专利

咨询该专利

您还可以
推荐专利
{{ v.name }}
取 消 确 定