• 专利申请
    2020-07-22
  • 公布公告
    2021-03-16
  • 授权日期
    2021-03-16
  • 终止
    2031-03-14
一种桶装水提运装置
一种桶装水提运装置
* 专利信息仅供参考,不具有法律效力。 有效专利
CN202021454151.1 2020-07-22 B65G7/12 {{ classMap["B65G7/12"] }}
苏州正俊饮料包装机械有限公司 查看申请人名下所有专利
江苏省苏州市张家港市锦丰镇锦乐路
专利分类项目
专利注册信息
初审公告期号 2020-07-22 初审公告日期 2021-03-16
注册公告期号 2021-03-16 注册公告日期 2021-03-16
专用权期限 2021-03-16 - 2031-03-14 专利类型 实用新型
代理组织机构 苏州国卓知识产权代理有限公司 查看该机构代理的所有专利
专利介绍
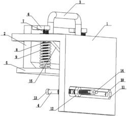
本实用新型公开的属于提运装置技术领域,具体为一种桶装水提运装置,包括放置板和盛装瓶,所述放置板的两端开设有对称的凹槽,所述凹槽的侧壁通过轴销转动设置有转动板,两个所述转动板的上侧壁均固定设置有弧形板,所述盛装瓶与所述弧形板的上侧壁接触连接,所述放置板的上侧壁固定设置有固定块,所述固定块的上端固定设置有套管,所述套管的内部滑动设置有移动杆,所述移动杆的上端固定设置有提手,所述固定块的内部开设有第一空腔,所述第一空腔的内部通过第一轴承转动设置有转杆,可以对盛装瓶进行水平提运,有效防止桶装水瓶颈处损坏,且可以同时提运多瓶,大大提高对桶装水的提运效率。
法律进度
  • 2021-03-16 授权 ...

同类专利

咨询该专利

您还可以
推荐专利
{{ v.name }}
取 消 确 定