• 专利申请
    2020-07-16
  • 公布公告
    2021-06-22
  • 授权日期
    2021-06-22
  • 终止
    2031-06-20
一种水槽展示柜
一种水槽展示柜
* 专利信息仅供参考,不具有法律效力。 有效专利
CN202021399141.2 2020-07-16 A47F3/00 {{ classMap["A47F3/00"] }}
上海天威展示展览有限公司 查看申请人名下所有专利
上海市宝山区振园路66号
专利分类项目
专利注册信息
初审公告期号 2020-07-16 初审公告日期 2021-06-22
注册公告期号 2021-06-22 注册公告日期 2021-06-22
专用权期限 2021-06-22 - 2031-06-20 专利类型 实用新型
代理组织机构 --
专利介绍
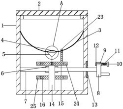
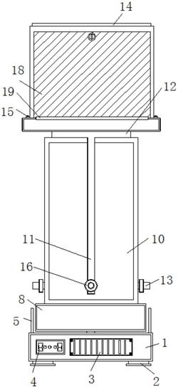
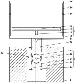
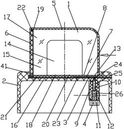
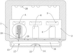
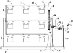
一种水槽展示柜,包括:展示柜柜体、软膜灯箱结构、供水系统、万向轮、磁铁和控制开关,软膜灯箱结构与展示柜柜体内上部连接,供水系统与展示柜柜体内部连接,万向轮与展示柜柜体底部连接,磁铁与展示柜柜体底部连接,控制开关与供水系统连接。其中,供水系统包括:下水口、控制电柜、水泵、小水箱、水桶、饮水机聪明座、不锈钢水箱、铁件抽屉、支撑腿、导轨、导轨板和浮球开关。本实用新型与传统技术相比,对循环水系统进行了改进,采用大小水箱设计,更加便利的进行补水,缺水时能及时补充;大水箱采用浮球开关进行水位监测,一旦达到设置的低位段,同时提醒工作人员及时更换大水箱的水。
法律进度
  • 2021-06-22 授权 ...

同类专利

咨询该专利

您还可以
推荐专利
{{ v.name }}
取 消 确 定