• 专利申请
    2020-04-29
  • 公布公告
    2020-12-18
  • 授权日期
    2020-12-18
  • 终止
    2030-12-16
一种老化柜
一种老化柜
* 专利信息仅供参考,不具有法律效力。 有效专利
CN202020679838.9 2020-04-29 G01R1/04 {{ classMap["G01R1/04"] }}
苏州品展电子科技有限公司 查看申请人名下所有专利
江苏省苏州市苏州吴中经济开发区兴南路13-1号
专利分类项目
专利注册信息
初审公告期号 2020-04-29 初审公告日期 2020-12-18
注册公告期号 2020-12-18 注册公告日期 2020-12-18
专用权期限 2020-12-18 - 2030-12-16 专利类型 实用新型
代理组织机构 --
专利介绍
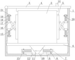
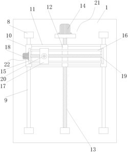
本实用新型公开了一种老化柜,旨在解决链条松动的问题。其技术方案要点是:包括老化柜本体,老化柜内部设置有电机、主动轴、从动轴、链条和若干插板,主动轴由电机驱动,主动轴上套设有两个主动链轮,从动轴上套设有两个从动链轮,主动链轮和从动链轮之间通过链条传动,插板固定连接在链条上,老化柜本体上设置两个连接板,两个连接板之间固定连接有支撑板,支撑板上固定连接有两个固定块,固定块上开设有空腔,空腔内设置有弹簧结构,弹簧结构包括弹簧和滑块,滑块的一端固定连接有安装板一和安装板二,安装板一和安装板二之间固定连接有固定轴,固定轴上套设有绷紧链轮。本实用新型通过链条调节装置达到使链条可以一直绷紧的目的。
法律进度
  • 2020-12-18 授权 ...

同类专利

咨询该专利

您还可以
推荐专利
{{ v.name }}
取 消 确 定