• 专利申请
    2020-04-27
  • 公布公告
    2020-10-20
  • 授权日期
    2020-10-20
  • 终止
    2030-10-18
一种适于运动图像合成的带倾角LED灯头结构
一种适于运动图像合成的带倾角LED灯头结构
* 专利信息仅供参考,不具有法律效力。 有效专利
CN202020658578.7 2020-04-27 F21K9/20 {{ classMap["F21K9/20"] }}
苏州窗口酷媒广告传媒有限公司 查看申请人名下所有专利
江苏省苏州市苏州工业园区苏安新村154幢6号室
专利分类项目
专利注册信息
初审公告期号 2020-04-27 初审公告日期 2020-10-20
注册公告期号 2020-10-20 注册公告日期 2020-10-20
专用权期限 2020-10-20 - 2030-10-18 专利类型 实用新型
代理组织机构 --
专利介绍
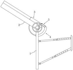
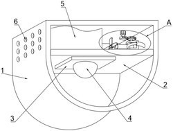
本实用新型公开了一种适于运动图像合成的带倾角LED灯头结构,包括灯罩,所述灯罩包括有灯座、支撑板与侧板,所述灯座内腔从左至右依次安装有PCB板、RGB三基色显示单元LED灯与透光面板。本实用新型中,通过灯罩顶部的双向电机定时开启,双向电机会带动转动螺杆转动,转动螺杆通过外螺纹带动移动套往下移动,移动套通过连接杆带动清理滚筒往下贴合透光面板往下移动,同理,当双向电机完成一个行程后开始反转,移动套则在转动螺杆的作用下通过连接杆带动滚筒往上移动,通过清理滚筒往复移动配合其自身发生转动,从而实现对透光面板外侧的粉尘清理,从而提高了适于运动图像合成的带倾角LED灯头结构的使用效果。
法律进度
  • 2020-10-20 授权 ...

同类专利

咨询该专利

您还可以
推荐专利
{{ v.name }}
取 消 确 定