• 专利申请
    2020-04-21
  • 公布公告
    2021-02-19
  • 授权日期
    2021-02-19
  • 终止
    2031-02-17
一种防止眼镜出现水雾的口罩
一种防止眼镜出现水雾的口罩
* 专利信息仅供参考,不具有法律效力。 有效专利
CN202020609351.3 2020-04-21 A41D13/11 {{ classMap["A41D13/11"] }}
大连中企科技开发有限公司 查看申请人名下所有专利
辽宁省大连市西岗区香三坊245号
专利分类项目
专利注册信息
初审公告期号 2020-04-21 初审公告日期 2021-02-19
注册公告期号 2021-02-19 注册公告日期 2021-02-19
专用权期限 2021-02-19 - 2031-02-17 专利类型 实用新型
代理组织机构 天津展誉专利代理有限公司 查看该机构代理的所有专利
专利介绍
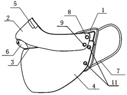
本实用新型涉及一种防止眼镜出现水雾的口罩,包括口罩主体、记忆棉垫、上系带和一对下系带。本实用新型的有益效果是:使用者佩戴口罩时,可以将记忆棉垫与鼻子、脸颊接触。由于记忆棉垫采用记忆棉材质,记忆棉比较柔软,并且可以记忆形状,所以记忆棉垫可以形成适应佩戴者脸型的形状,减少呼吸的水汽从口罩上方飘散。连接扣连接的下系带的长度固定,所以连接扣的位置固定。并且可以调节连接扣在上系带的位置,上系带的两端都设有连接扣,因此可以调节上系带的松紧程度。当上系带拉紧时,由于上系带位于记忆棉垫的外侧,可以将记忆棉垫压紧在佩戴者的面部。这样就能进一步的将记忆棉垫压紧在佩戴者的面部。
法律进度
  • 2021-02-19 授权 ...

同类专利

咨询该专利

您还可以
推荐专利
{{ v.name }}
取 消 确 定