• 专利申请
    2020-04-17
  • 公布公告
    2021-02-26
  • 授权日期
    2021-02-26
  • 终止
    2031-02-24
太阳能箱包
太阳能箱包
* 专利信息仅供参考,不具有法律效力。 有效专利
CN202020576054.3 2020-04-17 A45F3/04 {{ classMap["A45F3/04"] }}
苏州凯灵箱包有限公司 查看申请人名下所有专利
江苏省苏州市吴江区桃源镇富乡大道437号
专利分类项目
专利注册信息
初审公告期号 2020-04-17 初审公告日期 2021-02-26
注册公告期号 2021-02-26 注册公告日期 2021-02-26
专用权期限 2021-02-26 - 2031-02-24 专利类型 实用新型
代理组织机构 --
专利介绍
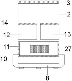
本实用新型公开了一种太阳能箱包。本实用新型一种太阳能箱包,包括:包体、设置在所述包体外表面的太阳能光伏聚能面板、储存电源、防反接模块;所述储存电源设置在所述包体内部,其中,所述储存电源用于接收所述太阳能光伏聚能面板转化的电能并向外部设备供电,所述储存电源设有对外供电的供电插口。本实用新型的有益效果:在太阳能面板和储存电源之间设置防反接模块,对储存电源进行保护。
法律进度
  • 2021-02-26 授权 ...

同类专利

咨询该专利

您还可以
推荐专利
{{ v.name }}
取 消 确 定