• 专利申请
    2020-03-27
  • 公布公告
    2021-02-12
  • 授权日期
    2021-02-12
  • 终止
    2031-02-10
一种松油醇晶体分离设备
一种松油醇晶体分离设备
* 专利信息仅供参考,不具有法律效力。 有效专利
CN202020424244.3 2020-03-27 B01D9/02 {{ classMap["B01D9/02"] }}
余娜 查看申请人名下所有专利
湖北省武汉市武昌区珞珈山武汉大学
专利分类项目
专利注册信息
初审公告期号 2020-03-27 初审公告日期 2021-02-12
注册公告期号 2021-02-12 注册公告日期 2021-02-12
专用权期限 2021-02-12 - 2031-02-10 专利类型 实用新型
代理组织机构 --
专利介绍
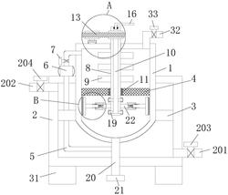
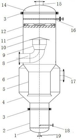
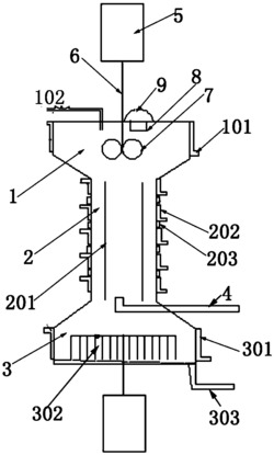
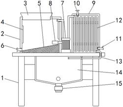
本实用新型公开了一种松油醇晶体分离设备,其结构包括进料块、顶盖、驱动机、液位显示管、可视窗、侧连接块、排放连接块、排放弯管、分离罐体,本实用新型一种松油醇晶体分离设备,在排放液体的时候,分离罐体外壳内的受压块上的受压开槽会受到流动液体的冲击,使其带动整个连接支架沿着连接板的方向向下垂直移动,从而使连接支架的顶端与外壳的顶端错开,打开两个开口,使密封的外壳顶部空气流通,让液体能够流畅的排出,通过改进设备的结构,使设备在进行使用排放的时候,能够借助松油醇液体开始流动的动力,在罐体的顶端处打开两个开口,减少液体流动时罐体内部上部分受到的压力,使液体能够快速流动排出进行使用。
法律进度
  • 2021-02-12 授权 ...

同类专利

咨询该专利

您还可以
推荐专利
{{ v.name }}
取 消 确 定