• 专利申请
    2020-02-03
  • 公布公告
    2020-11-27
  • 授权日期
    2020-11-27
  • 终止
    2030-11-25
一种便于清理的鱼缸
一种便于清理的鱼缸
* 专利信息仅供参考,不具有法律效力。 有效专利
CN202020150731.5 2020-02-03 A01K63/00 {{ classMap["A01K63/00"] }}
泉州市安巨机械科技有限公司 查看申请人名下所有专利
福建省泉州市南安市霞美镇霞光村泰和楼一楼
专利分类项目
专利注册信息
初审公告期号 2020-02-03 初审公告日期 2020-11-27
注册公告期号 2020-11-27 注册公告日期 2020-11-27
专用权期限 2020-11-27 - 2030-11-25 专利类型 实用新型
代理组织机构 六安市新图匠心专利代理事务所 查看该机构代理的所有专利
专利介绍
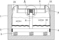
本实用新型公开了一种便于清理的鱼缸,包括鱼缸主体,所述鱼缸主体的内部设置有饲养水,所述饲养水的水面漂浮设置有第一泡沫柱,所述饲养水的水面靠近第一泡沫柱的后侧漂浮设置有第二泡沫柱,所述第一泡沫柱的上端外表面设置有连接件,所述连接件的上端外表面设置有连接杆,所述连接杆的上端外表面设置有加强杆,所述加强杆的上端外表面设置有电机,所述电机的后端设置有第一皮带盘,所述连接杆的上端外表面靠近电机的一侧设置有固定座,所述固定座的内部表面贯穿设置有转动轴。本实用新型所述的一种便于清理的鱼缸,可以使得饲养水内部的氧气获氧补充。
法律进度
  • 2020-11-27 授权 ...

同类专利

咨询该专利

您还可以
推荐专利
{{ v.name }}
取 消 确 定