• 专利申请
    2020-01-19
  • 公布公告
    2020-12-08
  • 授权日期
    2020-12-08
  • 终止
    2030-12-06
一种可降解支架
一种可降解支架
* 专利信息仅供参考,不具有法律效力。 有效专利
CN202020127040.3 2020-01-19 H04M1/04 {{ classMap["H04M1/04"] }}
珠海市坦泰新材料科技有限公司 查看申请人名下所有专利
广东省珠海市金湾区三灶镇定湾七路7号庄桥工业园C栋厂房四楼
专利分类项目
专利注册信息
初审公告期号 2020-01-19 初审公告日期 2020-12-08
注册公告期号 2020-12-08 注册公告日期 2020-12-08
专用权期限 2020-12-08 - 2030-12-06 专利类型 实用新型
代理组织机构 北京联瑞联丰知识产权代理事务所 查看该机构代理的所有专利
专利介绍
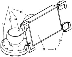
本实用新型公开了一种可降解支架,涉及手机支架领域,包括架板,所述架板外部左右两侧均设有抵板一,两抵板一内侧壁上均装设有防滑垫,防止手机摔落,两抵板一上端固定连接有挡块,两抵板一内侧均固定连接有连接板,两连接板滑动连接在架板内部,架板前表面固定连接有散热垫,两连接板内侧上下两端均设有洞孔,洞孔内侧均固定连接有弹簧,弹簧内侧固定连接有固定板,固定板上下两端均设有螺栓,使其固定连接在架板上,本实用新型通过将支架的抵板一、挡块、抵板二、架板、连接板、均采用可降解塑料制成,在支架保存期过后,支架将通过空气与外界的一些元素,出现降解,有效的代替了普通塑料和硅胶制成的支架,起到了环保作用。
法律进度
  • 2020-12-08 授权 ...

同类专利

咨询该专利

您还可以
推荐专利
{{ v.name }}
取 消 确 定