• 专利申请
    2020-01-13
  • 公布公告
    2020-12-04
  • 授权日期
    2020-12-04
  • 终止
    2030-12-02
一种自动化胶条供料装置
一种自动化胶条供料装置
* 专利信息仅供参考,不具有法律效力。 有效专利
CN202020057236.X 2020-01-13 B65G47/22 {{ classMap["B65G47/22"] }}
苏州崮麓智能设备有限公司 查看申请人名下所有专利
江苏省苏州市虎丘区高新区锦峰路8号1号楼216室
专利分类项目
专利注册信息
初审公告期号 2020-01-13 初审公告日期 2020-12-04
注册公告期号 2020-12-04 注册公告日期 2020-12-04
专用权期限 2020-12-04 - 2030-12-02 专利类型 实用新型
代理组织机构 南京禾易知识产权代理有限公司 查看该机构代理的所有专利
专利介绍
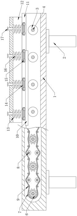
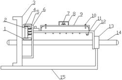
本实用新型公开了一种自动化胶条供料装置,涉及供料装置技术领域,为解决现有的自动化胶条供料装置,供料效率不够快捷,使用起来耗费人力的问题。包括传送装置,所述传送装置的一侧安装有下料斗,所述传送装置的上端安装有固定座,所述固定座的上端安装有抚平滚筒,所述传送装置的前端安装有传送电机,所述传送装置的下端安装有支撑腿,所述传送装置的另一侧安装有下料板,所述下料板的另一侧安装有供料箱,所述供料箱的上端安装有滚珠安装块。
法律进度
  • 2020-12-04 授权 ...

同类专利

咨询该专利

您还可以
推荐专利
{{ v.name }}
取 消 确 定