• 专利申请
    2020-12-31
  • 公布公告
    2022-09-09
  • 授权日期
    2022-09-09
  • 终止
    2032-09-06
一种不锈钢材质的消防应急灯具用吊顶支架
一种不锈钢材质的消防应急灯具用吊顶支架
* 专利信息仅供参考,不具有法律效力。 有效专利
CN202011633264.2 2020-12-31 G09F13/04 {{ classMap["G09F13/04"] }}
上安(天津)消防科技有限公司 查看申请人名下所有专利
天津市河西区陈塘科技商务区服务中心311-6
专利分类项目
专利注册信息
初审公告期号 2020-12-31 初审公告日期 2022-09-09
注册公告期号 2022-09-09 注册公告日期 2022-09-09
专用权期限 2022-09-09 - 2032-09-06 专利类型 发明授权
代理组织机构 上海宣宜专利代理事务所 查看该机构代理的所有专利
专利介绍
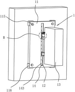
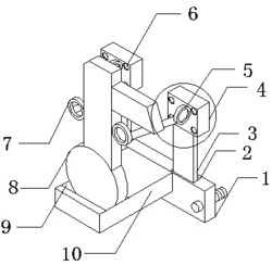
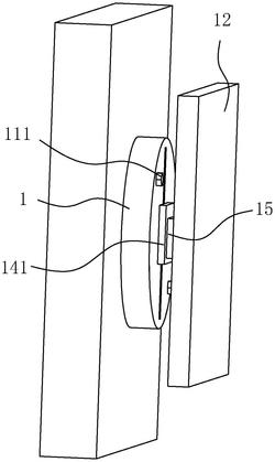
本发明属于消防应急灯具领域,尤其是一种不锈钢材质的消防应急灯具用吊顶支架,现提出如下方案,其包括安装板,所述安装板的底端铰接有截面为倒U型的转动架,转动架的两侧均设有固接在安装板底壁上的弧形固定板,弧形固定板上开有多个定位孔,转动架的两侧壁上均开有凹槽,凹槽内卡接有穿过定位孔的固定销,转动架的底端安装有伸缩架,伸缩架的底端安装有应急灯,伸缩架包括多个横杆,相邻横杆之间均设有两个伸缩杆,伸缩杆包括两个一端铰接在一起的连接杆。本装置能够在使用时,根据安装面角度的不同,实现对本装置安装角度的调整,同时可以根据需要对灯具的安装高度进行调整。
法律进度
  • 2024-07-19 专利权的转移 登记生效日: 2024.07.03 专利权人由上安(天津)消防科技有限公司变更为陕西华运泰消防设备有限公司 国 ...

  • 2022-09-09 授权 ...

  • 2021-05-21 实质审查的生效 IPC(主分类): G09F 13/04 专利申请号: 202011633264.2 申请日: 2020.12 ...

  • 2021-04-30 公开 ...

同类专利

咨询该专利

您还可以
推荐专利
{{ v.name }}
取 消 确 定