• 专利申请
    2020-12-13
  • 公布公告
    2021-03-26
  • 授权日期
    2022-06-03
  • 终止
    2031-03-24
一种室内铺设瓷砖用辅助装置
一种室内铺设瓷砖用辅助装置
* 专利信息仅供参考,不具有法律效力。 有效专利
CN202011467909.X 2020-12-13 E04F21/22 {{ classMap["E04F21/22"] }}
芜湖小白葱信息科技有限公司 查看申请人名下所有专利
安徽省芜湖市弋江区复地南都荟C1栋719室
专利分类项目
专利注册信息
初审公告期号 2020-12-13 初审公告日期 2021-03-26
注册公告期号 2022-06-03 注册公告日期 2022-06-03
专用权期限 2021-03-26 - 2031-03-24 专利类型 发明公开
代理组织机构 --
专利介绍
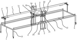
本发明提供一种室内铺设瓷砖用辅助装置,包括:底座、滑动结构、升降结构、支架、支架、水泥罐、挤压结构、推进结构、涂抹结构和连接管,所述底座的上表面设有可横向移动的滑动结构,所述滑动结构的端部固定安装可上下活动的升降结构,所述底座的上表面位于支架的两侧对称固定安装支架,所述支架之间位于升降结构得上方位置滑动叠加有瓷砖,所述瓷砖得上方位置设有可盛放水泥浆的水泥罐,所述水泥罐的内部靠近瓷砖的位置设有可将水泥浆挤出的挤压结构,降低了工人的劳动强度,有效的增加了工人的工作空间,方便了工人的铺设工作,有效的避免了因意外将瓷砖摔坏的现象,一定程度上节省了装修的成本,使水泥浆在瓷砖背面涂抹的更为均匀。
法律进度
  • 2022-06-03 授权 ...

  • 2021-04-13 实质审查的生效 IPC(主分类): E04F 21/22 专利申请号: 202011467909.X 申请日: 2020.12 ...

  • 2021-03-26 公开 ...

同类专利

咨询该专利

您还可以
推荐专利
{{ v.name }}
取 消 确 定