• 专利申请
    2020-10-26
  • 公布公告
    2024-03-19
  • 授权日期
    2024-03-19
  • 终止
    2034-03-17
悬挂夹持振动采收机
悬挂夹持振动采收机
* 专利信息仅供参考,不具有法律效力。 有效专利
CN202011153518.0 2020-10-26 A01D46/26 {{ classMap["A01D46/26"] }}
中南林业科技大学 查看申请人名下所有专利
湖南省长沙市韶山南路498号
专利分类项目
专利注册信息
初审公告期号 2020-10-26 初审公告日期 2024-03-19
注册公告期号 2024-03-19 注册公告日期 2024-03-19
专用权期限 2024-03-19 - 2034-03-17 专利类型 发明授权
代理组织机构 株洲湘知知识产权代理事务所 查看该机构代理的所有专利
专利介绍
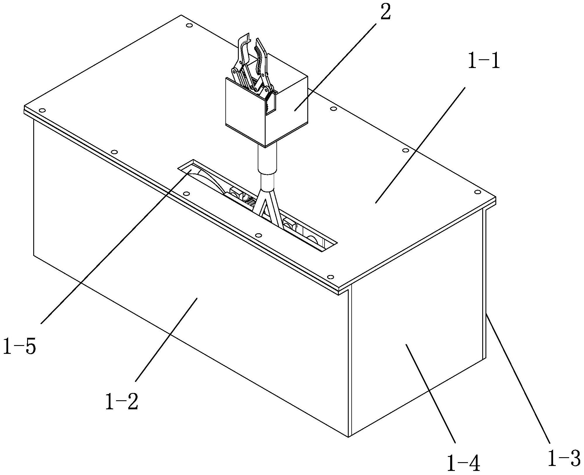
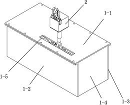
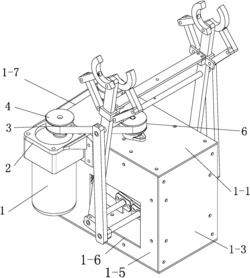
悬挂夹持振动采收机,包括履带式行走机构、果实采摘机构和果实收集机构,果实采摘机构通过多个垂向设置的弹簧悬挂在履带式行走机构向前伸出的机架上且位于果实收集机构正上方,果实采摘机构包括夹持组件和振动器,夹持组件包括水平设置的夹持支架、向前伸出的内夹板、与内夹板对齐的外夹板、用于拉动内夹板和外夹板靠近或远离的油缸动力组件以及对内夹板和外夹板的运动进行导向的导向组件,夹持支架和振动器分别通过弹簧与机架连接,振动器装在夹持支架上,油缸动力组件和导向组件分别装在夹持支架上,内夹板和外夹板分别固定在导向组件上,且均与油缸动力组件连接。本发明提高果实采摘机构的结构可靠性和实用性,提高整机的地形适应性和实用性。
法律进度
  • 2024-03-19 授权 ...

  • 2021-01-01 实质审查的生效 IPC(主分类): A01D 46/26 专利申请号: 202011153518.0 申请日: 2020.10 ...

  • 2020-12-15 公开 ...

同类专利

咨询该专利

您还可以
推荐专利
{{ v.name }}
取 消 确 定