• 专利申请
    2020-10-21
  • 公布公告
    2022-09-16
  • 授权日期
    2022-09-16
  • 终止
    2032-09-13
一种可拆卸循环使用的树脂隔墙板
一种可拆卸循环使用的树脂隔墙板
* 专利信息仅供参考,不具有法律效力。 有效专利
CN202011133206.3 2020-10-21 E04B2/74 {{ classMap["E04B2/74"] }}
湖南省建新建材有限公司 查看申请人名下所有专利
湖南省益阳市南县经济开发区(腾辉创业园标准化厂房12栋)
专利分类项目
专利注册信息
初审公告期号 2020-10-21 初审公告日期 2022-09-16
注册公告期号 2022-09-16 注册公告日期 2022-09-16
专用权期限 2022-09-16 - 2032-09-13 专利类型 发明授权
代理组织机构 深圳国联专利代理事务所 查看该机构代理的所有专利
专利介绍
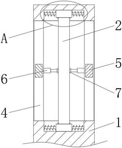
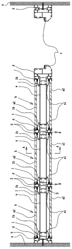
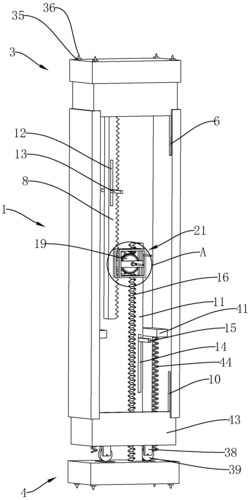
本发明公开的一种可拆卸循环使用的树脂隔墙板,包括固定底座、固定支撑板、外层隔板和中间放置板,固定底座上壁两侧呈U型内凹设置形成夹紧放置槽,夹紧放置槽呈对称设置,固定底座上壁与夹紧放置槽呈相邻设置的两端设有斜边放置槽,斜边放置槽呈对称设置,固定支撑板呈对称设置设于固定底座上,固定支撑板与固定底座呈垂直设置,固定支撑板与斜边放置槽呈相邻设置,外层隔板呈上端开口中空腔体设置,外层隔板呈梯形设置,外层隔板设于固定底座上,外层隔板套设于固定支撑板外部。本发明属于树脂隔墙板技术领域,具体是一种能够进行快速安装和拆卸,同时不会破坏各个组件结构,能够循环重复使用,整体结构稳定性高的可拆卸循环使用的树脂隔墙板。
法律进度
  • 2022-09-16 授权 ...

  • 2021-03-12 实质审查的生效 IPC(主分类): E04B 2/74 专利申请号: 202011133206.3 申请日: 2020.10. ...

  • 2021-02-23 公开 ...

同类专利

咨询该专利

您还可以
推荐专利
{{ v.name }}
取 消 确 定