• 专利申请
    2020-09-30
  • 公布公告
    2021-08-06
  • 授权日期
    2021-08-06
  • 终止
    2031-08-04
一种便携式输送管道除漆打磨装置
一种便携式输送管道除漆打磨装置
* 专利信息仅供参考,不具有法律效力。 有效专利
CN202011057661.X 2020-09-30 B23D79/04 {{ classMap["B23D79/04"] }}
燕山大学 查看申请人名下所有专利
河北省秦皇岛市海港区河北大街西段438号
专利分类项目
专利注册信息
初审公告期号 2020-09-30 初审公告日期 2021-08-06
注册公告期号 2021-08-06 注册公告日期 2021-08-06
专用权期限 2021-08-06 - 2031-08-04 专利类型 发明授权
代理组织机构 北京高沃律师事务所 查看该机构代理的所有专利
专利介绍
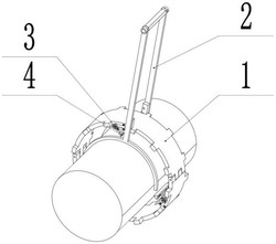
本发明公开了一种便携式输送管道除漆打磨装置,涉及管道除漆装置技术领域,包括环形支撑架、推动装置、进给装置和刮刀组件,环形支撑架套设于管道外壁上,进给装置为多个,多个进给装置固定于环形支撑架的内壁上,刮刀组件固定于进给装置上,刮刀组件位于进给装置与管道外壁之间,进给装置用于调整刮刀组件与管道外壁之间的距离,推动装置可拆卸固定于管道外壁上,推动装置与环形支撑架相抵,推动装置带动环形支撑架转动。本发明能够在狭小的缝隙中对管道外壁进行除漆过程,并且结构体积较小,方便携带,除漆效率得到显著提高。
法律进度
  • 2024-04-26 专利权的转移 登记生效日: 2024.04.10 专利权人由燕山大学变更为龙图腾网科技(合肥)股份有限公司 国家或地区由中国 ...

  • 2021-08-06 授权 ...

  • 2021-01-12 实质审查的生效 IPC(主分类): B23D 79/04 专利申请号: 202011057661.X 申请日: 2020.09 ...

  • 2020-12-25 公开 ...

咨询该专利

您还可以
推荐专利
{{ v.name }}
取 消 确 定