• 专利申请
    2020-09-26
  • 公布公告
    2022-03-22
  • 授权日期
    2022-03-22
  • 终止
    2032-03-19
一种管道内部冲刷机构
一种管道内部冲刷机构
* 专利信息仅供参考,不具有法律效力。 有效专利
CN202011028220.7 2020-09-26 F16L55/24 {{ classMap["F16L55/24"] }}
宜宾学院 查看申请人名下所有专利
四川省宜宾市酒圣路8号
专利分类项目
专利注册信息
初审公告期号 2020-09-26 初审公告日期 2022-03-22
注册公告期号 2022-03-22 注册公告日期 2022-03-22
专用权期限 2022-03-22 - 2032-03-19 专利类型 发明授权
代理组织机构 --
专利介绍
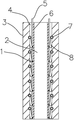
本发明涉及一种管道内部冲刷机构,用于管道的内部清洁,尤其是井下管柱取出后的内部清洗。其技术方案:芯轴整体为圆筒形,芯轴前端安装堵头,芯轴中间安装转筒,芯轴在转筒安装位置设置径向通孔;转筒包含喷嘴,喷嘴沿着转筒径向伸出并向转筒左侧或者右侧弯曲;芯轴上设置径向支撑装置。本发明通过芯轴上安装的径向支撑装置,将芯轴在管道内对中,可以对不同管径的管道有一定适应性;将流体的反作用力转化为转筒旋转的驱动力,驱动钢丝刷在管道内壁旋转,提高清洁效果。
法律进度
  • 2023-10-24 专利权的转移 登记生效日: 2023.10.09 专利权人由宜宾学院变更为龙图腾网科技(合肥)股份有限公司 地址由64400 ...

  • 2023-10-24 专利权的转移 登记生效日: 2023.10.09 专利权人由龙图腾网科技(合肥)股份有限公司变更为深圳龙图腾科技成果转化有限 ...

  • 2022-03-22 授权 ...

  • 2021-01-08 实质审查的生效 IPC(主分类): F16L 55/24 专利申请号: 202011028220.7 申请日: 2020.09 ...

  • 2020-12-22 公开 ...

同类专利

咨询该专利

您还可以
推荐专利
{{ v.name }}
取 消 确 定