• 专利申请
    2020-09-22
  • 公布公告
    2021-07-30
  • 授权日期
    2021-07-30
  • 终止
    2031-07-28
一种基于搅拌摩擦方法的轻质高强零件表层损伤修复装置
一种基于搅拌摩擦方法的轻质高强零件表层损伤修复装置
* 专利信息仅供参考,不具有法律效力。 有效专利
CN202011004418.1 2020-09-22 B23K20/12 {{ classMap["B23K20/12"] }}
燕山大学 查看申请人名下所有专利
河北省秦皇岛市海港区河北大街438号
专利分类项目
专利注册信息
初审公告期号 2020-09-22 初审公告日期 2021-07-30
注册公告期号 2021-07-30 注册公告日期 2021-07-30
专用权期限 2021-07-30 - 2031-07-28 专利类型 发明授权
代理组织机构 石家庄众志华清知识产权事务所 查看该机构代理的所有专利
专利介绍
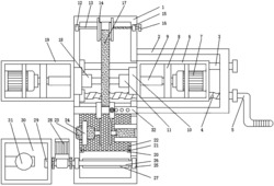
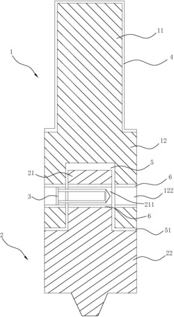
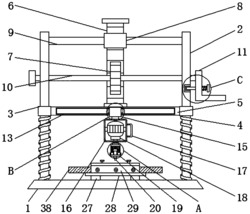
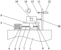
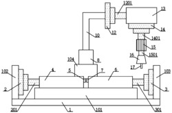
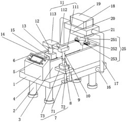
本发明涉及一种基于搅拌摩擦方法的轻质高强零件表层损伤修复装置,属于轻质高强零件工作表面强化及损伤修复装置技术领域,包括L型支架,其垂直板与第一进给机构固定连接,搅拌摩擦匙孔去除机构通过第一进给机构设于垂直板上;水平板由下自上依次设有第二进给机构、平台、第三进给机构、工作台和夹紧件;搅拌摩擦匙孔去除机构包括与电机相连的连接件和固定于连接件下端的搅拌肩,连接件下端中部依次连接液压缸、旋转装置和搅拌针,搅拌肩上设有搅拌针穿过的圆孔,搅拌针通过液压缸的伸缩实现与搅拌肩的分离。本发明对轻质高强零件表层一定深度的裂纹等内部缺陷修复作用明显,修复面积大、效率高,修复后零件表面无匙孔存在,避免了匙孔处理工序。
法律进度
  • 2023-01-31 专利权的转移 登记生效日: 2023.01.13 专利权人由燕山大学变更为合肥智慧龙机械设计有限公司 地址由066004 河 ...

  • 2021-07-30 授权 ...

  • 2021-03-02 实质审查的生效 IPC(主分类): B23K 20/12 专利申请号: 202011004418.1 申请日: 2020.09 ...

  • 2021-02-09 公开 ...

同类专利

咨询该专利

您还可以
推荐专利
{{ v.name }}
取 消 确 定