• 专利申请
    2020-09-17
  • 公布公告
    2023-06-30
  • 授权日期
    2023-06-30
  • 终止
    2033-06-27
一种新结构的组合式三自由度混合磁轴承
一种新结构的组合式三自由度混合磁轴承
* 专利信息仅供参考,不具有法律效力。 有效专利
CN202010980971.2 2020-09-17 F16C32/04 {{ classMap["F16C32/04"] }}
淮阴工学院 查看申请人名下所有专利
江苏省淮安市经济技术开发区枚乘东路1号
专利分类项目
专利注册信息
初审公告期号 2020-09-17 初审公告日期 2023-06-30
注册公告期号 2023-06-30 注册公告日期 2023-06-30
专用权期限 2023-06-30 - 2033-06-27 专利类型 发明授权
代理组织机构 淮安市科文知识产权事务所 查看该机构代理的所有专利
专利介绍
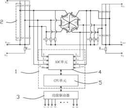
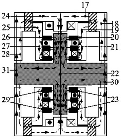
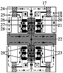
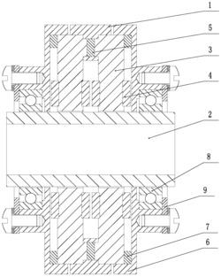
本发明涉及磁悬浮轴承制造领域,公开了一种新结构的组合式三自由度混合磁轴承,包括左、右定子和转子,左、右定子包括左、右轴向定子,左、右永磁体,左、右径向定子;左右定子分别由四个隔磁块沿圆心至圆周均匀分为四块,左右定子通过位于左右径向定子之间的四个径向控制铁心相连接;左右轴向定子的内侧分别设置有四个轴向控制铁心,同一侧的四个轴向控制铁心通过导磁环连接。转子包括左右转子与转轴,左右转子和径向定子之间存在径向气隙,与左右轴向定子之间存在左右轴向气隙。本发明左侧和右侧偏置磁通、轴向控制磁通无耦合,当轴向偏心较大时,能够正常工作,且径向控制绕组在径向铁心一侧,可产生更大的径向悬浮力,结构紧凑、机械强度高。
法律进度
  • 2024-04-09 专利权的转移 登记生效日: 2024.03.25 专利权人由淮阴工学院变更为合肥九州龙腾科技成果转化有限公司 国家或地区由中 ...

  • 2023-11-21 专利实施许可合同备案的生效 IPC(主分类): F16C 32/04 合同备案号: X2023980045340 专利申请号: 20201 ...

  • 2023-06-30 授权 ...

  • 2020-12-29 实质审查的生效 IPC(主分类): F16C 32/04 专利申请号: 202010980971.2 申请日: 2020.09 ...

  • 2020-12-11 公开 ...

同类专利

咨询该专利

您还可以
推荐专利
{{ v.name }}
取 消 确 定