• 专利申请
    2020-08-27
  • 公布公告
    2020-12-18
  • 授权日期
    2022-07-19
  • 终止
    2030-12-16
工程应用型人才人文教育信息交互装置及其应用方法
工程应用型人才人文教育信息交互装置及其应用方法
* 专利信息仅供参考,不具有法律效力。 有效专利
CN202010880976.8 2020-08-27 G09B5/02 {{ classMap["G09B5/02"] }}
浙江水利水电学院 查看申请人名下所有专利
浙江省杭州市下沙高教东区学府街508号
专利分类项目
专利注册信息
初审公告期号 2020-08-27 初审公告日期 2020-12-18
注册公告期号 2022-07-19 注册公告日期 2022-07-19
专用权期限 2020-12-18 - 2030-12-16 专利类型 发明公开
代理组织机构 杭州六方于义专利代理事务所 查看该机构代理的所有专利
专利介绍
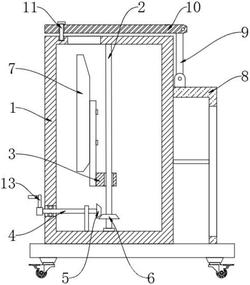
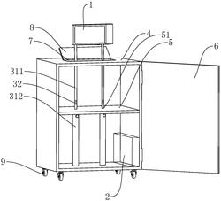
本发明公开了工程应用型人才人文教育信息交互装置及其应用方法,交互装置包括机体和云服务器,机体上设有身份证感应板、指纹感应板和触控显示屏,机体内设有交互终端,交互装置还包括场景模拟亭,机体设于场景模拟亭内;应用方法包括如下步骤:(a)现场布置;(b)登录;(c)交互;(d)总结。本发明实现人机信息交互,学生与学生之间信息交互,利于人文教育信息快速推广,打破传统的学习模式限制,学生运用所学知识体验虚拟场景,加深印象,赋予学生更大的主动性,富有强烈的真实感,有趣而不乏味,创造全新的教学环境,提升教学质量。
法律进度
  • 2022-07-19 授权 ...

  • 2021-01-05 实质审查的生效 IPC(主分类): G09B 5/02 专利申请号: 202010880976.8 申请日: 2020.08. ...

  • 2020-12-18 公开 ...

同类专利

咨询该专利

您还可以
推荐专利
{{ v.name }}
取 消 确 定