• 专利申请
    2020-08-24
  • 公布公告
    2022-01-28
  • 授权日期
    2022-01-28
  • 终止
    2032-01-26
一种高性能定子永磁式无轴承电机
一种高性能定子永磁式无轴承电机
* 专利信息仅供参考,不具有法律效力。 有效专利
CN202010857756.3 2020-08-24 H02K9/06 {{ classMap["H02K9/06"] }}
淮阴工学院 查看申请人名下所有专利
江苏省淮安市洪泽区东七街三号高新技术产业园A12-2(淮阴工学院技术转移中心洪泽分中心)
专利分类项目
专利注册信息
初审公告期号 2020-08-24 初审公告日期 2022-01-28
注册公告期号 2022-01-28 注册公告日期 2022-01-28
专用权期限 2022-01-28 - 2032-01-26 专利类型 发明授权
代理组织机构 淮安市科文知识产权事务所 查看该机构代理的所有专利
专利介绍
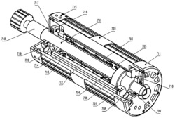
本发明公开了一种高性能定子永磁式无轴承电机,通过设置的隔离环和导管的配合使用,可以将电机本体两端的轴承取消,避免转柱转动时与轴承之间产生摩擦,达到提高无轴承电机性能的目的;转柱贯穿隔离环的内部靠近中间的位置,若干个导管固定连接在第二连接轴环的内表面,使得转柱转动时不与隔离环直接接触,转子铁芯、定子铁芯和定子绕组工作时产生第一热量,通过若干个散热扇叶的转动,第一热量通过散热网传送至电机本体的外部;通过设置的第一散热管、第二散热管和第三散热管以及导管的配合使用,可以有效提高无轴承电机的散热效果;本发明公开的各个方面可以解决无轴承电机的性能不佳的问题,以及无轴承电机的散热效果不佳的问题。
法律进度
  • 2024-04-12 专利权的转移 登记生效日: 2024.03.27 专利权人由淮阴工学院变更为合肥九州龙腾科技成果转化有限公司 国家或地区由中 ...

  • 2023-05-02 专利实施许可合同备案的注销 合同备案号: X2022980020444 让与人: 淮阴工学院 受让人: 江苏嘉瑞丰机电设备有限公司 解除日 ...

  • 2022-11-25 专利实施许可合同备案的生效 IPC(主分类): H02K 9/06 合同备案号: X2022980020444 专利申请号: 202010 ...

  • 2022-01-28 授权 ...

  • 2020-12-15 实质审查的生效 IPC(主分类): H02K 9/06 专利申请号: 202010857756.3 申请日: 2020.08. ...

  • 2020-11-27 公开 ...

同类专利

咨询该专利

您还可以
推荐专利
{{ v.name }}
取 消 确 定