• 专利申请
    2020-08-18
  • 公布公告
    2020-11-10
  • 授权日期
    2021-11-26
  • 终止
    2030-11-08
一种微生物有机肥低温脱水设备及脱水方法
一种微生物有机肥低温脱水设备及脱水方法
* 专利信息仅供参考,不具有法律效力。 有效专利
CN202010833443.4 2020-08-18 F26B11/18 {{ classMap["F26B11/18"] }}
鸿坤土壤修复科技(苏州)有限公司 查看申请人名下所有专利
江苏省苏州市相城区元和街道嘉元路959号元和大厦318室
专利分类项目
专利注册信息
初审公告期号 2020-08-18 初审公告日期 2020-11-10
注册公告期号 2021-11-26 注册公告日期 2021-11-26
专用权期限 2020-11-10 - 2030-11-08 专利类型 发明公开
代理组织机构 苏州高专知识产权代理事务所 查看该机构代理的所有专利
专利介绍
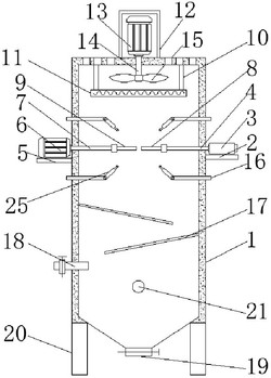
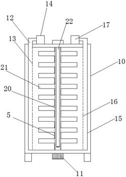
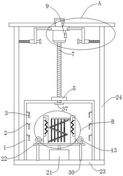
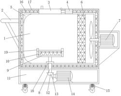
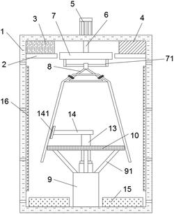
本发明公开了微生物有机肥处理技术领域的一种微生物有机肥低温脱水设备及脱水方法,包括脱水箱,所述脱水箱的底部设置有送风箱,所述送风箱底部内壁的两侧均设置有电加热棒,所述送风箱的两侧底部均设置有进风口,所述送风箱的内壁上连接有旋转组件,且旋转组件上均匀连接有处理组件,所述送风箱的底部连接有固定框,所述固定框的内壁上连接有传动组件,通过转动轴转动,使得耙子的底部可以在放置槽的内部往复移动,从而可以来回梳理放置槽内部的肥料,将结块的肥料打开,并且使得肥料可以均匀铺在放置槽内,在来回梳理的过程中,也增大了肥料的受热面积,从而可以有效地提高了肥料的脱水效率。
法律进度
  • 2024-07-16 专利权的转移 登记生效日: 2024.06.28 专利权人由鸿坤土壤修复科技(苏州)有限公司变更为湖北沃饶生物科技有限公司 ...

  • 2021-11-26 授权 ...

  • 2020-11-27 实质审查的生效 IPC(主分类): F26B 11/18 专利申请号: 202010833443.4 申请日: 2020.08 ...

  • 2020-11-10 公开 ...

同类专利

咨询该专利

您还可以
推荐专利
{{ v.name }}
取 消 确 定