• 专利申请
    2020-08-07
  • 公布公告
    2020-11-27
  • 授权日期
    2022-09-09
  • 终止
    2030-11-25
一种金属成型用负角折弯装置及其实施方法
一种金属成型用负角折弯装置及其实施方法
* 专利信息仅供参考,不具有法律效力。 有效专利
CN202010791035.7 2020-08-07 B21D5/02 {{ classMap["B21D5/02"] }}
秦素容 查看申请人名下所有专利
重庆市丰都县十直镇梁家湾1组33号
专利分类项目
专利注册信息
初审公告期号 2020-08-07 初审公告日期 2020-11-27
注册公告期号 2022-09-09 注册公告日期 2022-09-09
专用权期限 2020-11-27 - 2030-11-25 专利类型 发明公开
代理组织机构 赣州智府晟泽知识产权代理事务所 查看该机构代理的所有专利
专利介绍
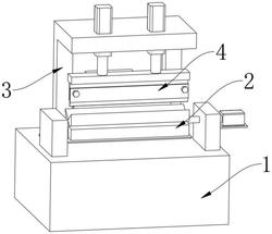
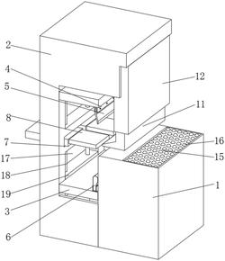
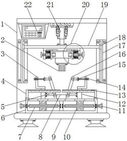
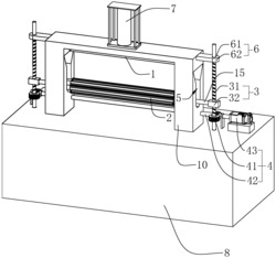
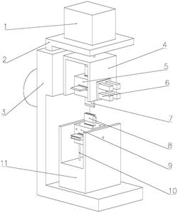
本发明公开了一种金属成型用负角折弯装置,同时,公开了一种金属成型用负角折弯装置的实施方法,在吊板底部的利用侧板和固定销的配合设置两端形状结构不同的折弯模头,并在基座上端利用底板、滑槽、滑块、插孔和的配合凸柱叠加设置具有不同形状折弯槽的支撑板,折弯模头在固定销外壁上旋转调整底端的形状配合不同折弯槽,可以对金属件进行不同形状的折弯加工,便捷实用,在折弯模头的侧壁上开设三角限位槽,三角销通过套筒、连杆、限位块、弹簧和安装板的配合活动卡合于三角限位槽内部对其进行固定,保证折弯模头加工时的稳定性,利用把手拉动连杆压缩弹簧,使三角销脱离三角限位槽即可对折弯模头底部的形状进行自由切换,对金属件进行折弯。
法律进度
  • 2022-09-09 授权 ...

  • 2020-12-15 实质审查的生效 IPC(主分类): B21D 5/02 专利申请号: 202010791035.7 申请日: 2020.08. ...

  • 2020-11-27 公开 ...

同类专利

咨询该专利

您还可以
推荐专利
{{ v.name }}
取 消 确 定