• 专利申请
    2020-08-05
  • 公布公告
    2020-10-30
  • 授权日期
    2021-04-13
  • 终止
    2030-10-28
一种水上垃圾清理无人船设备
一种水上垃圾清理无人船设备
* 专利信息仅供参考,不具有法律效力。 有效专利
CN202010778745.6 2020-08-05 B63B35/32 {{ classMap["B63B35/32"] }}
杭州晋建环保科技有限公司 查看申请人名下所有专利
浙江省杭州市钱塘新区临江街道纬六路1128号5楼511室
专利分类项目
专利注册信息
初审公告期号 2020-08-05 初审公告日期 2020-10-30
注册公告期号 2021-04-13 注册公告日期 2021-04-13
专用权期限 2020-10-30 - 2030-10-28 专利类型 发明公开
代理组织机构 --
专利介绍
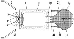
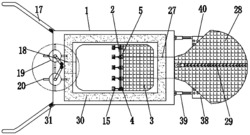
本发明公开了一种水上垃圾清理无人船设备,所述工作腔内含有动力腔,所述动力腔内含有动力转向机构,位于所述动力腔后端的所述船体上固定设有电机,位于所述动力腔左端的所述船体上固定设有动力舱隔板,所述动力舱隔板与所述船体之间固定设有电池支架,本发明结构简单,操作便捷,本发明不仅能够代替大量人力去清理河道,而且美观效率高可以不间断清理,也不用考虑河道复杂,实现无死角清理,并且也不需要担心无人船会遗失在外,它能够凭借太阳能来驱动实现不间断工作,本发明结构紧凑,有较大的垃圾储存空间,充分帮助人们美化环境,维持生态健康,具有较高的一体化程度。
法律进度
  • 2021-04-13 授权 ...

  • 2021-04-09 专利申请权的转移 登记生效日: 2021.03.30 申请人由陈铮冲变更为绍兴市亚索新能源科技有限公司 地址由310000 浙江 ...

  • 2020-12-08 专利申请权的转移 登记生效日: 2020.11.26 申请人由杭州晋建环保科技有限公司变更为陈铮冲 地址由310000 浙江省杭 ...

  • 2020-11-27 实质审查的生效 IPC(主分类): B63B 35/32 专利申请号: 202010778745.6 申请日: 2020.08 ...

  • 2020-10-30 公开 ...

同类专利

咨询该专利

您还可以
推荐专利
{{ v.name }}
取 消 确 定