• 专利申请
    2020-07-23
  • 公布公告
    2020-11-03
  • 授权日期
    2021-10-26
  • 终止
    2030-11-01
一种能量饮料加工用胚芽米的榨汁去壳机构
一种能量饮料加工用胚芽米的榨汁去壳机构
* 专利信息仅供参考,不具有法律效力。 有效专利
CN202010717470.5 2020-07-23 B02B5/02 {{ classMap["B02B5/02"] }}
湖南文理学院 查看申请人名下所有专利
湖南省常德市武陵区洞庭大道3150号
专利分类项目
专利注册信息
初审公告期号 2020-07-23 初审公告日期 2020-11-03
注册公告期号 2021-10-26 注册公告日期 2021-10-26
专用权期限 2020-11-03 - 2030-11-01 专利类型 发明公开
代理组织机构 常德天弘知识产权代理事务所 查看该机构代理的所有专利
专利介绍
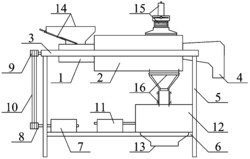
本发明涉及榨汁去壳技术领域,具体为一种能量饮料加工用胚芽米的榨汁去壳机构,包括榨汁机构,所述榨汁机构包括榨汁腔主体、电机和支撑架,所述榨汁腔主体一端固连有进料口,所述榨汁腔主体远离进料口的一端固连有进水管道,所述榨汁腔主体顶端通过辅助支架固连有电机,且电机的输出轴与第一转动杆固连,所述第一转动杆贯穿榨汁腔主体并通过轴承与榨汁腔主体转动连接,所述第一转动杆远离电机的一端固连有搅拌叶,所述榨汁腔主体侧表面与支撑架固连,所述榨汁腔主体底端设置有过滤机构。本发明使得胚芽米的榨汁去壳可以使用一体式装置完成加工,产品合格率更加稳定,且使得电能消耗更少,生产成本降低,提升了装置的实用性和经济性。
法律进度
  • 2021-10-26 授权 ...

  • 2020-11-20 实质审查的生效 IPC(主分类): B02B 5/02 专利申请号: 202010717470.5 申请日: 2020.07. ...

  • 2020-11-03 公开 ...

同类专利
  • 一种大米保胚碾米方法

  • 一种具有控制大米输送量功能的大米加工用去壳抛光机

咨询该专利

您还可以
推荐专利
{{ v.name }}
取 消 确 定