• 专利申请
    2020-07-17
  • 公布公告
    2023-05-16
  • 授权日期
    2023-05-16
  • 终止
    2033-05-13
一种河道沿线水体环境监测用自动取样机器人
一种河道沿线水体环境监测用自动取样机器人
* 专利信息仅供参考,不具有法律效力。 有效专利
CN202010689956.2 2020-07-17 G01N1/14 {{ classMap["G01N1/14"] }}
安徽机电职业技术学院 查看申请人名下所有专利
安徽省芜湖市弋江区文津西路
专利分类项目
专利注册信息
初审公告期号 2020-07-17 初审公告日期 2023-05-16
注册公告期号 2023-05-16 注册公告日期 2023-05-16
专用权期限 2023-05-16 - 2033-05-13 专利类型 发明授权
代理组织机构 合肥维可专利代理事务所 查看该机构代理的所有专利
专利介绍
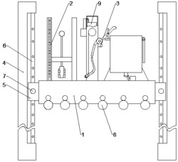
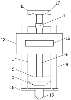
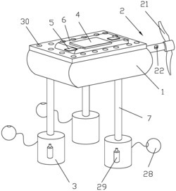
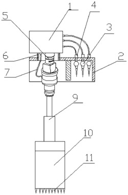
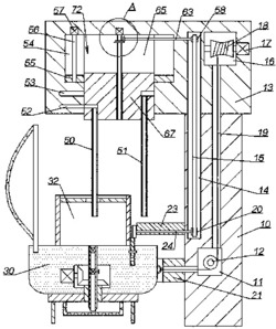
本发明公开了一种河道沿线水体环境监测用自动取样机器人,包括:可在河面行驶的载体,载体的底部设有用于抽取河水的加压管道,载体的上方设有多组用于存储抽取的河水的取样盒,加压管道的端部连通有给加压管道逐步增压并将载体底部的水抽入加压管道的加压单元,加压管道中设有接收逐步增压而使加压管道中水流入不同取样盒的活动密封单元,加压管道在逐步增压的过程中活动密封单元密封在不同位置的取样盒下方,使加压管道中的水按顺利流入不同的取样盒中,且在水流入取样盒之前会冲洗加压管道,使加压管道中原有的水冲洗干净并从卸水管排出,保证了取样盒中的水不受加压管道中原有水的影响。
法律进度
  • 2024-08-09 专利权的转移 登记生效日: 2024.07.23 专利权人由安徽机电职业技术学院变更为合肥智慧龙机械设计有限公司 国家或地区 ...

  • 2023-05-16 授权 ...

  • 2020-12-04 实质审查的生效 IPC(主分类): G01N 1/14 专利申请号: 202010689956.2 申请日: 2020.07. ...

  • 2020-11-17 公开 ...

同类专利

咨询该专利

您还可以
推荐专利
{{ v.name }}
取 消 确 定