• 专利申请
    2020-07-13
  • 公布公告
    2022-08-12
  • 授权日期
    2022-08-12
  • 终止
    2032-08-09
一种漂浮式汽车充电桩
一种漂浮式汽车充电桩
* 专利信息仅供参考,不具有法律效力。 有效专利
CN202010668020.1 2020-07-13 B60L53/31 {{ classMap["B60L53/31"] }}
李楠楠 查看申请人名下所有专利
安徽省合肥市高新区天智路创新创业产业园C栋
专利分类项目
专利注册信息
初审公告期号 2020-07-13 初审公告日期 2022-08-12
注册公告期号 2022-08-12 注册公告日期 2022-08-12
专用权期限 2022-08-12 - 2032-08-09 专利类型 发明授权
代理组织机构 --
专利介绍
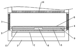
本发明涉及充电桩技术领域,具体的说是一种漂浮式汽车充电桩,包括充电桩,所述充电桩左侧表面顶端固定设置有充电枪放置箱,所述充电枪放置箱下方设置有充电线固定座,所述充电线固定座与充电线一端电性连接,所述充电线另一端与充电枪头电性连接,所述充电枪头安置于充电枪放置箱内,所述充电桩底端呈距列式设有四组固定脚,所述固定脚与底座顶端开设的安置槽相卡合,本发明充电桩前后两端面均安装有U型扣板,工作人员通过扣板将汽车充电桩提升一定的高度使其底部安装的固定脚与安置槽相卡合,从而对充电桩与底座进行固定,同时,通过脚踏式按压气筒将浮箱充满气体,从而提升一定的高度,防止充电桩在雨水较多的低洼地区使用时出现损坏。
法律进度
  • 2023-10-13 专利权的转移 登记生效日: 2023.09.22 专利权人由李楠楠变更为常州费舍尔电子科技有限公司 地址由230000 安徽 ...

  • 2022-08-12 授权 ...

  • 2020-11-13 实质审查的生效 IPC(主分类): B60L 53/31 专利申请号: 202010668020.1 申请日: 2020.07 ...

  • 2020-10-27 公开 ...

同类专利

咨询该专利

您还可以
推荐专利
{{ v.name }}
取 消 确 定