• 专利申请
    2020-07-10
  • 公布公告
    2020-10-16
  • 授权日期
    2022-07-12
  • 终止
    2030-10-14
一种土木工程用高效筛沙机
一种土木工程用高效筛沙机
* 专利信息仅供参考,不具有法律效力。 有效专利
CN202010660267.9 2020-07-10 B07B1/04 {{ classMap["B07B1/04"] }}
铜仁学院 查看申请人名下所有专利
贵州省铜仁市碧江区川硐办事处教育园区启航路238号
专利分类项目
专利注册信息
初审公告期号 2020-07-10 初审公告日期 2020-10-16
注册公告期号 2022-07-12 注册公告日期 2022-07-12
专用权期限 2020-10-16 - 2030-10-14 专利类型 发明公开
代理组织机构 北京保识知识产权代理事务所 查看该机构代理的所有专利
专利介绍
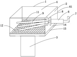
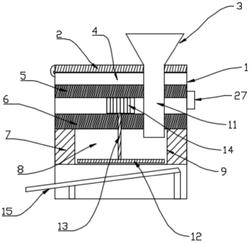
本发明公开了一种土木工程用高效筛沙机,属于土木工程筛沙领域,在使用过程中先通过移动式固定框架将车体尾端全部包裹起来,其中同调整移动式夹网支架的位置,可以适应不同的车体宽度,但是需要注意的时,该装置在设计的时候设计高度高度市面上所出现的所有运输车车体高度,包裹完毕之后通过减震固定夹具将装置与车体进行固定,之后通过缓慢倾斜车体,将沙送至装置内部,但是需要注意的是,需要根据沙的质量来规定连续运行时间,因为该装置无法自动的将筛分过程中产生的废弃物料排出。
法律进度
  • 2024-07-30 专利权的转移 登记生效日: 2024.07.13 专利权人由铜仁学院变更为合肥智慧龙机械设计有限公司 国家或地区由中国变更为 ...

  • 2022-07-12 授权 ...

  • 2020-11-03 实质审查的生效 IPC(主分类): B07B 1/04 专利申请号: 202010660267.9 申请日: 2020.07. ...

  • 2020-10-16 公开 ...

同类专利

咨询该专利

您还可以
推荐专利
{{ v.name }}
取 消 确 定