• 专利申请
    2018-06-29
  • 公布公告
    2021-05-14
  • 授权日期
    2021-05-14
  • 终止
    2031-05-12
基于转动惯性的家庭用田艾饼初期加工设备及加工方法
基于转动惯性的家庭用田艾饼初期加工设备及加工方法
* 专利信息仅供参考,不具有法律效力。 有效专利
CN202010657275.8 2018-06-29 A47J19/04 {{ classMap["A47J19/04"] }}
绍兴津源午马机械股份有限公司 查看申请人名下所有专利
浙江省绍兴市柯桥区马鞍镇滨海工业区南新村1幢125室
专利分类项目
专利注册信息
初审公告期号 2018-06-29 初审公告日期 2021-05-14
注册公告期号 2021-05-14 注册公告日期 2021-05-14
专用权期限 2021-05-14 - 2031-05-12 专利类型 发明授权
代理组织机构 深圳市创富知识产权代理有限公司 查看该机构代理的所有专利
专利介绍
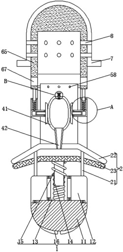
本发明涉及田艾饼加工设备技术领域,尤其涉及一种基于转动惯性的家庭用田艾饼初期加工设备。本发明要解决的技术问题是没有合适的设备用于家庭制造艾绒,导致人们制造艾绒时比较费力。为了解决上述技术问题,本发明提供了一种基于转动惯性的家庭用田艾饼初期加工设备,包括基座,基座的顶部从左到右分别固定连接有旋转支撑装置、动能传递装置以及支撑杆,支撑杆的顶部固定连接有顶板,顶板的底部设置有捶打装置,顶板的内腔通过轴承转动连接有第一转动轴,第一转动轴的顶部焊接有转盘。该基于转动惯性的家庭用田艾饼初期加工设备,最大程度的使艾叶受到均匀的捶打,且人们可以很方便的将捶打槽内部的艾绒取出,或者将艾叶放入捶打槽的内部。
法律进度
  • 2021-05-14 授权 ...

  • 2021-04-23 专利申请权的转移 登记生效日: 2021.04.09 申请人由李彦变更为绍兴津源午马机械股份有限公司 地址由150026 黑龙江 ...

  • 2020-11-06 实质审查的生效 IPC(主分类): A47J 19/04 专利申请号: 202010657275.8 申请日: 2018.06 ...

  • 2020-10-20 公开 ...

同类专利
  • 一种具有防飞溅功能的按压排气式蒜捶

咨询该专利

您还可以
推荐专利
{{ v.name }}
取 消 确 定