• 专利申请
    2020-06-30
  • 公布公告
    2022-02-11
  • 授权日期
    2022-02-11
  • 终止
    2032-02-09
一种易装取的枇杷快递包装盒
一种易装取的枇杷快递包装盒
* 专利信息仅供参考,不具有法律效力。 有效专利
CN202010611780.9 2020-06-30 B65D25/04 {{ classMap["B65D25/04"] }}
南京信息职业技术学院 查看申请人名下所有专利
江苏省南京市栖霞区仙林大学城文澜路99号
专利分类项目
专利注册信息
初审公告期号 2020-06-30 初审公告日期 2022-02-11
注册公告期号 2022-02-11 注册公告日期 2022-02-11
专用权期限 2022-02-11 - 2032-02-09 专利类型 发明授权
代理组织机构 南京苏高专利商标事务所 查看该机构代理的所有专利
专利介绍
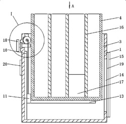
本发明公开了一种易装取的枇杷快递包装盒,包括盒盖和盒体,盒盖通过铰链连接在盒体上,也可以与盒体分开,盒体的内部为中空结构,盒体的内部固定连接有多组横向隔板和多组纵向隔板,横向隔板和纵向隔板相互垂直设置将盒体的内部分成多个格子,盒体的内部还设有多组间隔设置的分隔钉,分隔钉插设在横向隔板与纵向隔板的交界处,使每个格子中至少有一个分隔钉的分隔片伸入。本发明的横向隔板和纵向隔板的高度低于盒体的高度,这样放入和取出枇杷变得更便利,而且枇杷可以自由呼吸,不至于密闭;横向隔板与纵向隔板的交界处插设有分隔钉,使每个装枇杷的格子中都有一个分隔钉的分隔片插入,分隔片能够固定在格子里的单个枇杷。
法律进度
  • 2022-02-11 授权 ...

  • 2020-11-17 实质审查的生效 IPC(主分类): B65D 25/04 专利申请号: 202010611780.9 申请日: 2020.06 ...

  • 2020-10-30 公开 ...

同类专利

咨询该专利

您还可以
推荐专利
{{ v.name }}
取 消 确 定