• 专利申请
    2020-06-11
  • 公布公告
    2020-09-04
  • 授权日期
    2021-10-19
  • 终止
    2030-09-02
一种废气净化设备
一种废气净化设备
* 专利信息仅供参考,不具有法律效力。 有效专利
CN202010528363.8 2020-06-11 B01D50/00 {{ classMap["B01D50/00"] }}
宁波财经学院 查看申请人名下所有专利
浙江省宁波市海曙区学院路899号
专利分类项目
专利注册信息
初审公告期号 2020-06-11 初审公告日期 2020-09-04
注册公告期号 2021-10-19 注册公告日期 2021-10-19
专用权期限 2020-09-04 - 2030-09-02 专利类型 发明公开
代理组织机构 常州市英诺创信专利代理事务所 查看该机构代理的所有专利
专利介绍
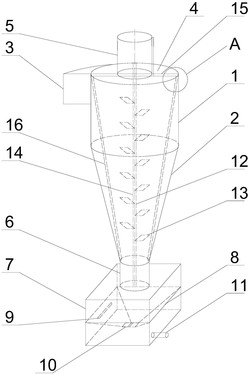
本发明公开了一种废气净化设备,通过在传统旋风分离器的内部设置第一水管和至少一根第二水管,第一水管与风分离器本体同轴设置,第一水管上间隔设有多个翅片和多个喷水孔,翅片表面包覆有二氧化钛催化剂,喷水孔喷出的水可以喷到翅片的上下表面;第二水管倾斜设置,且第二水管上间隔设有紫外光灯板和两个方向的喷嘴,紫外光灯板发出的紫外光照射在翅片的上下表面,第二水管上其中一个方向的喷水孔喷向紫外光灯板,用于去除附着在紫外光灯板上的灰尘;另一个方向的喷水孔喷向旋风分离器本体的内壁,用于去除附着在旋风分离器本体的内壁上的灰尘。本发明的废气净化设备能够去除传统旋风分离器无法去除的细颗粒,同时分解废气中的有机物。
法律进度
  • 2024-07-26 专利权的转移 登记生效日: 2024.07.10 专利权人由宁波财经学院变更为合肥净龙环保科技有限公司 国家或地区由中国变更 ...

  • 2021-10-19 授权 ...

  • 2020-09-29 实质审查的生效 IPC(主分类): B01D 50/00 专利申请号: 202010528363.8 申请日: 2020.06 ...

  • 2020-09-04 公开 ...

同类专利

咨询该专利

您还可以
推荐专利
{{ v.name }}
取 消 确 定