• 专利申请
    2020-04-30
  • 公布公告
    2021-08-27
  • 授权日期
    2021-08-27
  • 终止
    2031-08-25
一种非接触式割绒织物厚度拍摄装置
一种非接触式割绒织物厚度拍摄装置
* 专利信息仅供参考,不具有法律效力。 有效专利
CN202010364682.X 2020-04-30 H04N5/225 {{ classMap["H04N5/225"] }}
西安工程大学 查看申请人名下所有专利
陕西省西安市碑林区金花南路19号
专利分类项目
专利注册信息
初审公告期号 2020-04-30 初审公告日期 2021-08-27
注册公告期号 2021-08-27 注册公告日期 2021-08-27
专用权期限 2021-08-27 - 2031-08-25 专利类型 发明授权
代理组织机构 西安弘理专利事务所 查看该机构代理的所有专利
专利介绍
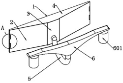
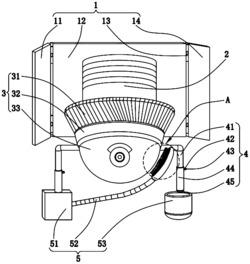
本发明公开了一种非接触式割绒织物厚度拍摄装置,包括有支座a与若干个支座b,支座a连接有两个长支架,两个长支架之间固定连接有水平支架,水平支架连接有云台,支座b固定连接有两个短支架,长支架固定连接有传送带支架,传送带支架固定连接短支架,云台上连接有工业相机,两个长支架之间固定连接有传动辊机构,传动辊机构连接有步进电机,步进电机电性连接有电源,两个传送带支架之间设置有第一支撑辊机构,两个传送带支架远离长支架的一端之间设置有第二支撑辊机构,传动辊机构、第一支撑辊机构及第二支撑辊机构设置有传送带配合工作。本发明实现对绒毛织物切面图像的采集与对绒毛表面的实时拍摄。
法律进度
  • 2024-06-04 专利权的转移 登记生效日: 2024.05.17 专利权人由西安工程大学变更为合肥九州龙腾科技成果转化有限公司 国家或地区由 ...

  • 2021-08-27 授权 ...

  • 2020-09-11 实质审查的生效 IPC(主分类): H04N 5/225 专利申请号: 202010364682.X 申请日: 2020.04 ...

  • 2020-08-18 公开 ...

同类专利

咨询该专利

您还可以
推荐专利
{{ v.name }}
取 消 确 定