• 专利申请
    2020-04-17
  • 公布公告
    2020-10-27
  • 授权日期
    2021-10-22
  • 终止
    2030-10-25
一种机械加工的粉尘收集装置
一种机械加工的粉尘收集装置
* 专利信息仅供参考,不具有法律效力。 有效专利
CN202010308112.9 2020-04-17 B23D21/00 {{ classMap["B23D21/00"] }}
烟台汽车工程职业学院 查看申请人名下所有专利
山东省烟台市福山区聚贤路1号
专利分类项目
专利注册信息
初审公告期号 2020-04-17 初审公告日期 2020-10-27
注册公告期号 2021-10-22 注册公告日期 2021-10-22
专用权期限 2020-10-27 - 2030-10-25 专利类型 发明公开
代理组织机构 北京化育知识产权代理有限公司 查看该机构代理的所有专利
专利介绍
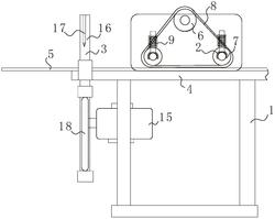
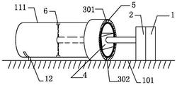
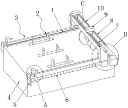
本发明涉及一种机械加工的粉尘收集装置,其分为夹持组件、切割组件与集尘组件;夹持组件包括第一工作台、驱动模块、管道支撑环、内环支撑件及托板,在管道的两端及内侧对管道进行稳定支撑;切割组件包括第三工作台、升降模块、水平移动模块、切割刀片模块及粉末集尘模块,上述结构组合使得切割组件能够做升降运动以及左右水平移动,以此来确定切割位置,同时粉末集尘模块对粉末进行收集;集尘组件包括第二工作台、碎屑收集模块及遮挡模块,上述部件配合实现对金属碎屑的收集。通过对结构的变形,从管道内部进行支撑,既节省了空间又方便了切刀顺畅运行;另外,除尘设备能够多角度多方位的对铁屑进行吸附、对粉末进行收集,获得整洁的工作环境,有利于操作人员健康。
法律进度
  • 2024-05-10 专利权的转移 登记生效日: 2024.04.25 专利权人由烟台汽车工程职业学院变更为合肥名龙电子科技有限公司 国家或地区由 ...

  • 2021-10-22 授权 ...

  • 2020-11-13 实质审查的生效 IPC(主分类): B23D 21/00 专利申请号: 202010308112.9 申请日: 2020.04 ...

  • 2020-10-27 公开 ...

同类专利

咨询该专利

您还可以
推荐专利
{{ v.name }}
取 消 确 定