• 专利申请
    2020-04-16
  • 公布公告
    2021-07-20
  • 授权日期
    2021-07-20
  • 终止
    2031-07-18
一种异形零件夹具
一种异形零件夹具
* 专利信息仅供参考,不具有法律效力。 有效专利
CN202010297911.0 2020-04-16 B24B41/06 {{ classMap["B24B41/06"] }}
南京信息职业技术学院 查看申请人名下所有专利
江苏省南京市栖霞区仙林大学城文澜路99号
专利分类项目
专利注册信息
初审公告期号 2020-04-16 初审公告日期 2021-07-20
注册公告期号 2021-07-20 注册公告日期 2021-07-20
专用权期限 2021-07-20 - 2031-07-18 专利类型 发明授权
代理组织机构 南京纵横知识产权代理有限公司 查看该机构代理的所有专利
专利介绍
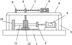
本发明公开了一种异形零件夹具,属于机械加工领域,包括夹具本体,定位轴和紧固组件,所述夹具本体上设置有本体定位槽孔和工件定位槽孔,所述工件定位槽孔的中轴线与本体定位槽孔的中轴线相互平行;所述本体定位槽孔位于夹具本体中心;所述工件定位槽孔孔径与定位轴直径相适应;所述定位轴贯穿工件定位槽孔,通过紧固组件分别与夹具本体和异型工件固定连接。本发明可保证工件加工精度结构简单,且结构简单,易于工业生产。
法律进度
  • 2021-07-20 授权 ...

  • 2020-08-11 实质审查的生效 IPC(主分类): B24B 41/06 专利申请号: 202010297911.0 申请日: 2020.04 ...

  • 2020-07-17 公开 ...

同类专利

咨询该专利

您还可以
推荐专利
{{ v.name }}
取 消 确 定