• 专利申请
    2020-02-08
  • 公布公告
    2020-06-09
  • 授权日期
    2022-03-08
  • 终止
    2030-06-07
一种畜牧业山羊脱毛处理装置
一种畜牧业山羊脱毛处理装置
* 专利信息仅供参考,不具有法律效力。 有效专利
CN202010083153.2 2020-02-08 A01K13/00 {{ classMap["A01K13/00"] }}
方礼娥 查看申请人名下所有专利
河北省邢台市桥西区冶金南路156正北方向28米3号楼201
专利分类项目
专利注册信息
初审公告期号 2020-02-08 初审公告日期 2020-06-09
注册公告期号 2022-03-08 注册公告日期 2022-03-08
专用权期限 2020-06-09 - 2030-06-07 专利类型 发明公开
代理组织机构 --
专利介绍
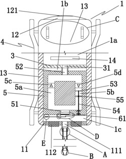
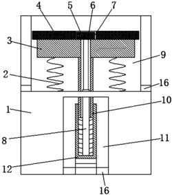
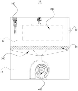
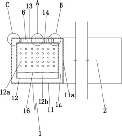
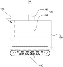
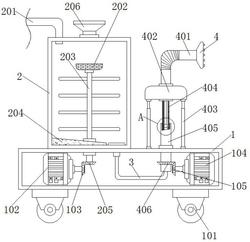
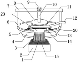
本发明涉及一种脱毛装置,尤其涉及一种畜牧业山羊脱毛处理装置。本发明要解决的技术问题是提供一种畜牧业山羊脱毛处理装置。一种畜牧业山羊脱毛处理装置,包括固定底板,左侧板,操控屏,右侧架,顶侧板,挠痒梳毛机构,沙土干盐分离机构和循环清洗机构;固定底板顶端右侧与右侧架相连接;固定底板顶端右侧设置有挠痒梳毛机构,并且挠痒梳毛机构右端与右侧架相连接;固定底板顶端中部设置有沙土干盐分离机构。本发明实现了对山羊的高效全方位挠痒,增加了山羊的愉悦感,加快其皮毛生长,有效收集脱落羊毛,并且快速分离沙土汗液杂质,洗去羊毛脂的效果。
法律进度
  • 2022-03-08 授权 ...

  • 2020-07-03 实质审查的生效 IPC(主分类): A01K 13/00 专利申请号: 202010083153.2 申请日: 2020.02 ...

  • 2020-06-09 公开 ...

同类专利

咨询该专利

您还可以
推荐专利
{{ v.name }}
取 消 确 定