• 专利申请
    2020-01-17
  • 公布公告
    2022-03-01
  • 授权日期
    2022-03-01
  • 终止
    2032-02-27
基于动态容积调整的无损播种机构
基于动态容积调整的无损播种机构
* 专利信息仅供参考,不具有法律效力。 有效专利
CN202010052924.1 2020-01-17 A01C7/18 {{ classMap["A01C7/18"] }}
湖南农业大学 查看申请人名下所有专利
湖南省长沙市芙蓉区农大路1号
专利分类项目
专利注册信息
初审公告期号 2020-01-17 初审公告日期 2022-03-01
注册公告期号 2022-03-01 注册公告日期 2022-03-01
专用权期限 2022-03-01 - 2032-02-27 专利类型 发明授权
代理组织机构 常州市权航专利代理有限公司 查看该机构代理的所有专利
专利介绍
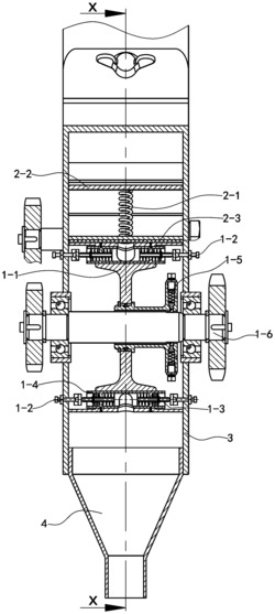
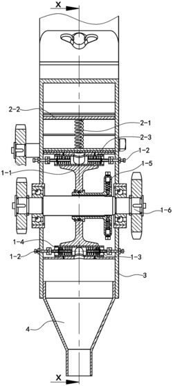
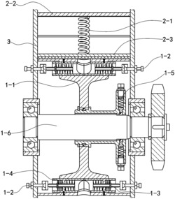
基于动态容积调整的无损播种机构,其中,播种控制部与护种部分别设置在支架内,且护种部与播种控制部接触,并在支架内设置有与播种控制部接触的支架圆弧段,播种控制部由播种轮主体、限位调节组件、容腔调节组件、横置容腔组件、浮动驱动组件及驱动主轴组成;同时在支架内通过上述结构形成有能够完成动态容积调整的左充种通道、右充种通道、播种轮充种通道及充种容腔,且横置容腔组件中的左容腔筒与右容腔筒能够对接后与播种轮充种通道接通。本发明中充种容腔通过调整限位调节组件即可获得所需的播种量,能够将充种容腔内的种子全部排出,达到彻底清除排种的技术效果;且不需要拆机或更换任何零部件,有效提高播种效率,延长零件使用寿命。
法律进度
  • 2022-03-01 授权 ...

  • 2020-05-12 实质审查的生效 IPC(主分类): A01C 7/18 专利申请号: 202010052924.1 申请日: 2020.01. ...

  • 2020-04-17 公开 ...

同类专利

咨询该专利

您还可以
推荐专利
{{ v.name }}
取 消 确 定