• 专利申请
    2020-01-17
  • 公布公告
    2020-05-19
  • 授权日期
    2020-05-19
  • 终止
    2030-05-17
一种等量异变进水管成型工艺
一种等量异变进水管成型工艺
* 专利信息仅供参考,不具有法律效力。 有效专利
CN202010049315.0 2020-01-17 B21D35/00 {{ classMap["B21D35/00"] }}
潍坊贝金机械有限公司 查看申请人名下所有专利
山东省潍坊市高新区新昌街道北冯社区工业园内1号
专利分类项目
专利注册信息
初审公告期号 2020-01-17 初审公告日期 2020-05-19
注册公告期号 2020-05-19 注册公告日期 2020-05-19
专用权期限 2020-05-19 - 2030-05-17 专利类型 发明授权
代理组织机构 潍坊中润泰专利代理事务所 查看该机构代理的所有专利
专利介绍
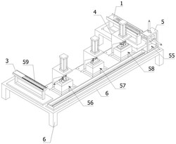
本发明提供了一种等量异变进水管成型工艺,包括以下步骤:S1、备料,准备待加工管件;S2、管胚制作,将待加工管件弯折成特定外形;S3、成型:S31、将管胚放入模具,模具合模,施加合模力;S32、向管胚内充填液体介质,所述管胚一端密封设置,所述管胚另一端设有增压装置;S33、通过增压装置对管胚的液体介质增压,在液体压力和合模力的共同作用下,所述管胚与模具型腔贴合成型;S34、取件。由于采用了上述技术方案,与现有技术相比,本发明的优点是:1、采用模具来保证成型零件的形状和精度,极大的扩大了成型零件的范围,提高了成型零件的精度;2、有效的改善了零件的工艺性,扩大了成型零件的适用范围。
法律进度
  • 2022-08-30 专利权的转移 登记生效日: 2022.08.17 专利权人由山东科瑞斯姆动力有限公司变更为山东华唐新材料科技有限公司 地址由 ...

  • 2022-01-04 专利权的转移 登记生效日: 2021.12.22 专利权人由潍坊贝金机械有限公司变更为山东科瑞斯姆动力有限公司 地址由261 ...

  • 2020-05-19 授权 ...

  • 2020-04-03 实质审查的生效 IPC(主分类): B21D 35/00 专利申请号: 202010049315.0 申请日: 2020.01 ...

  • 2020-03-10 公开 ...

同类专利

咨询该专利

您还可以
推荐专利
{{ v.name }}
取 消 确 定