• 专利申请
    2019-12-31
  • 公布公告
    2020-10-02
  • 授权日期
    2020-10-02
  • 终止
    2030-09-30
一种无心磨床用导向装置
一种无心磨床用导向装置
* 专利信息仅供参考,不具有法律效力。 有效专利
CN201922502336.9 2019-12-31 B24B5/18 {{ classMap["B24B5/18"] }}
无锡钱桥纺机设备有限公司 查看申请人名下所有专利
江苏省无锡市惠山区钱桥洋溪村
专利分类项目
专利注册信息
初审公告期号 2019-12-31 初审公告日期 2020-10-02
注册公告期号 2020-10-02 注册公告日期 2020-10-02
专用权期限 2020-10-02 - 2030-09-30 专利类型 实用新型
代理组织机构 上海联科律师事务所 查看该机构代理的所有专利
专利介绍
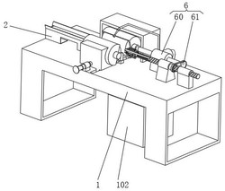
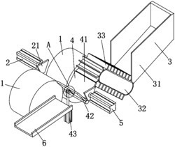
本实用新型属于机械装置领域,提供了一种无心磨床用导向装置,包括设置在无心磨床的进料侧的进料架,进料架的上端面间隔设置有若干第一支架,第一支架沿进料方向排列成一条直线,每个第一支架的端面两侧分别设置有第一轴承轮固定杆,第一轴承轮固定杆的下端与第一支架固定连接,上端旋转连接有第一轴承轮,第一轴承轮的轴线与进料方向一致;每个第一支架上的两个第一轴承轮对称设置在对应第一支架端面中心线的两侧,两个第一轴承轮的水平间距小于待磨削工件的直径。本实用新型提供的无心磨床用导向装置,降低了自身消耗,使用寿命长,从而降低了加工成本,与工件摩擦小,保证了工件进给的直线度,从而使成品的圆度、公差、尺寸更加稳定。
法律进度
  • 2020-10-02 授权 ...

同类专利

咨询该专利

您还可以
推荐专利
{{ v.name }}
取 消 确 定