• 专利申请
    2019-12-31
  • 公布公告
    2020-10-02
  • 授权日期
    2020-10-02
  • 终止
    2030-09-30
一种用于铣键槽的定位工装
一种用于铣键槽的定位工装
* 专利信息仅供参考,不具有法律效力。 有效专利
CN201922501231.1 2019-12-31 B23C3/28 {{ classMap["B23C3/28"] }}
无锡钱桥纺机设备有限公司 查看申请人名下所有专利
江苏省无锡市惠山区钱桥洋溪村
专利分类项目
专利注册信息
初审公告期号 2019-12-31 初审公告日期 2020-10-02
注册公告期号 2020-10-02 注册公告日期 2020-10-02
专用权期限 2020-10-02 - 2030-09-30 专利类型 实用新型
代理组织机构 上海联科律师事务所 查看该机构代理的所有专利
专利介绍
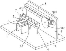
本实用新型属于机械装置领域,提供了一种用于铣键槽的定位工装,包括底座,底座设置在铣床的对面,底座的上端面设置有支撑座,底座的上端面在支撑座的侧面设置有固定柱,固定柱的上端连接有定位块,定位块的前端位于支撑座的上方;还包括用于插入已铣好键槽的定位键。本实用新型提供的用于铣键槽的定位工装,先铣出一个键槽,再根据铣好的键槽对另一端的键槽进行定位,生产速度快、效率高,键槽同线度高。
法律进度
  • 2020-10-02 授权 ...

同类专利

咨询该专利

您还可以
推荐专利
{{ v.name }}
取 消 确 定