• 专利申请
    2019-12-27
  • 公布公告
    2020-07-17
  • 授权日期
    2020-07-17
  • 终止
    2030-07-15
一种油量传感器密闭性检测装置
一种油量传感器密闭性检测装置
* 专利信息仅供参考,不具有法律效力。 有效专利
CN201922442195.6 2019-12-27 G01M3/06 {{ classMap["G01M3/06"] }}
天津卡尔瑞斯科技发展有限公司 查看申请人名下所有专利
天津市北辰区天津北辰经济技术开发区医药医疗器械工业园京福公路东侧优谷新科园97号厂房
专利分类项目
专利注册信息
初审公告期号 2019-12-27 初审公告日期 2020-07-17
注册公告期号 2020-07-17 注册公告日期 2020-07-17
专用权期限 2020-07-17 - 2030-07-15 专利类型 实用新型
代理组织机构 --
专利介绍
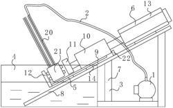
本实用新型提供了一种油量传感器密闭性检测装置,涉及油量传感器生产领域,包括机架、密闭机构以及检测机构,翻转气缸拉动密闭机构,工作人员将油量传感器从筒体的开口处插入筒体内,翻转气缸推动翻转板,压紧气缸的自由端带动卡头向下运动,直至卡头将油量传感器的端头卡紧在开口处,工作人员将气管的一端套接在U型水管的端口,此时气管的另一端与气压检测部件连通,进气管向密闭的筒体内充气,如果U型水管与端座密闭性能优良,则气管内无气体泄露,否则气管内有气体泄露,从而快速检测U型水管与端座的密闭效果,有效提高油量传感器的检测效率。
法律进度
  • 2023-08-18 专利权的转移 登记生效日: 2023.08.03 专利权人由天津卡尔瑞斯科技发展有限公司变更为天津合创新材料科技有限公司 地 ...

  • 2020-07-17 授权 ...

同类专利

咨询该专利

您还可以
推荐专利
{{ v.name }}
取 消 确 定