• 专利申请
    2019-12-30
  • 公布公告
    2020-09-15
  • 授权日期
    2020-09-15
  • 终止
    2030-09-13
一种实验室用金属沙浴桶
一种实验室用金属沙浴桶
* 专利信息仅供参考,不具有法律效力。 有效专利
CN201922417374.4 2019-12-30 B01L7/02 {{ classMap["B01L7/02"] }}
南京公汇科技有限公司 查看申请人名下所有专利
江苏省南京市建邺区云龙山路100号西侧B座1119室
专利分类项目
专利注册信息
初审公告期号 2019-12-30 初审公告日期 2020-09-15
注册公告期号 2020-09-15 注册公告日期 2020-09-15
专用权期限 2020-09-15 - 2030-09-13 专利类型 实用新型
代理组织机构 --
专利介绍
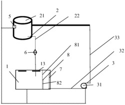
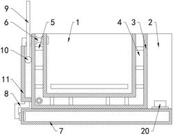
本实用新型公开了一种实验室用金属沙浴桶,包括磁力搅拌器,磁力搅拌器,顶面中央处固定设有加热盘,磁力搅拌器顶面一角处固定有安装架,安装架上固定安装有电子接触式温度计,磁力搅拌器顶面设有桶体,桶体顶部和底部均为开口状,桶体由四氟材料制成。本实用新型一种实验室用金属沙浴桶,通过磁力搅拌器以及电子接触式温度计的设置,可以对加热桶内的加热介质进行双温度控制模式,使得加热介质的温度保持稳定的温度,进而提高实验品的实验数据精准度,通过桶体的设置,可以有效的防止工作人员被加热桶的高温烫伤而且通过空腔的设置,在桶体的桶壁内形成空气夹层,进一步提高了桶体的保温隔热效果。
法律进度
  • 2020-09-15 授权 ...

同类专利

咨询该专利

您还可以
推荐专利
{{ v.name }}
取 消 确 定