• 专利申请
    2019-12-18
  • 公布公告
    2020-11-17
  • 授权日期
    2020-11-17
  • 终止
    2030-11-15
一种全自动托盘库
一种全自动托盘库
* 专利信息仅供参考,不具有法律效力。 有效专利
CN201922283357.6 2019-12-18 B65G59/06 {{ classMap["B65G59/06"] }}
常熟斐杰特自动化设备有限公司 查看申请人名下所有专利
江苏省苏州市常熟经济开发区高新技术产业园苏州路40号
专利分类项目
专利注册信息
初审公告期号 2019-12-18 初审公告日期 2020-11-17
注册公告期号 2020-11-17 注册公告日期 2020-11-17
专用权期限 2020-11-17 - 2030-11-15 专利类型 实用新型
代理组织机构 苏州诚逸知识产权代理事务所 查看该机构代理的所有专利
专利介绍
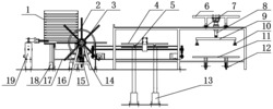
本实用新型公开了一种全自动托盘库,包括一框架机构,所述框架机构由相互平行前后两侧板组成;一动力输送线,所述动力输送线放置在两所述平衡杆上;一托盘宽度调节机构,所述托盘宽度调节机构由一调节侧板和两滑杆组成;两提升机构,两所述提升机构对称的安装在前所述侧板和所述调节侧板相对的面上;两托盘钩放机构,两所述托盘钩放机构分别安装在两所述安装板的相对面上;一控制设备,所述控制设备内安装有PLC控制器和伺服驱动器。通过上述方式,本实用新型一种全自动托盘库,该托盘库采用全自动控制方式,代替了传统的人工放置托盘,不仅一次性可以放置多个托盘,同时解决了人工放置托盘导致的位置偏移的问题。
法律进度
  • 2020-11-17 授权 ...

同类专利
  • 玻镁板与模板分离装置及分离方法

  • 水稻工厂化钵苗育秧套盘供盘机及其套盘方法

  • 适应于多种形状塑料花盆叠堆的花盆分离装置与方法

咨询该专利

您还可以
推荐专利
{{ v.name }}
取 消 确 定