• 专利申请
    2019-12-11
  • 公布公告
    2020-09-04
  • 授权日期
    2020-09-04
  • 终止
    2030-09-02
一种方便取用的牙膏储存装置
一种方便取用的牙膏储存装置
* 专利信息仅供参考,不具有法律效力。 有效专利
CN201922211347.1 2019-12-11 A47K5/18 {{ classMap["A47K5/18"] }}
淮安市和谐高铁客车用品有限公司 查看申请人名下所有专利
江苏省淮安市淮安区复兴镇工业集中区
专利分类项目
专利注册信息
初审公告期号 2019-12-11 初审公告日期 2020-09-04
注册公告期号 2020-09-04 注册公告日期 2020-09-04
专用权期限 2020-09-04 - 2030-09-02 专利类型 实用新型
代理组织机构 --
专利介绍
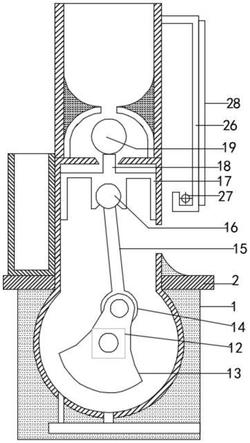
本实用新型公开了一种方便取用的牙膏储存装置,包括牙膏储存槽,所述牙膏储存槽的前端安装有密封盖,所述密封盖的前端的两侧安装有滑槽,所述滑槽的内部安装有滑杆,所述滑杆的上方安装有手动挤牙膏器,所述滑杆与滑槽的连接处的前端安装有加固片,所述手动挤牙膏器的内部安装有牙膏尾部镶嵌槽,所述手动挤牙膏器的上方的两侧安装有捏柄。本实用新型的将手动挤牙膏器与自动挤牙膏器结合为一体,手动挤牙膏器比较小,造价也比较低,与自动挤牙膏器结合一体,不会将成本提高太高,通过手动挤牙膏器可以将残留的少量的牙膏从后端全部收集到出口,可以将牙膏用完后内部残留缩小至最小最小化,节约经济。
法律进度
  • 2020-09-04 授权 ...

同类专利

咨询该专利

您还可以
推荐专利
{{ v.name }}
取 消 确 定