• 专利申请
    2019-12-06
  • 公布公告
    2020-11-03
  • 授权日期
    2020-11-03
  • 终止
    2030-11-01
一种兽医用医疗箱
一种兽医用医疗箱
* 专利信息仅供参考,不具有法律效力。 有效专利
CN201922164624.8 2019-12-06 A61B50/31 {{ classMap["A61B50/31"] }}
单能解 查看申请人名下所有专利
安徽省淮北市杜集区朔里镇官庄行政村二组26号
专利分类项目
专利注册信息
初审公告期号 2019-12-06 初审公告日期 2020-11-03
注册公告期号 2020-11-03 注册公告日期 2020-11-03
专用权期限 2020-11-03 - 2030-11-01 专利类型 实用新型
代理组织机构 --
专利介绍
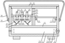
本实用新型公开了一种兽医用医疗箱,包括底座盒体,所述底座盒体右端中部活动连接有冷冻机构,所述底座盒体上端前侧和后侧分别通过铰链活动连接有活动连接有第一储存盒和第二储存盒,所述第一储存盒和第二储存盒上端中部共同固定连接有卡锁,所述底座盒体左端和右端上侧中部均固定安装有一组锁扣机构,所述底座盒体内腔底壁中部开设有限位滑槽。本实用新型所述的一种兽医用医疗箱,通过设置冷冻机构,将珍贵药物随身携带,可以及时给所要救治的动物施救,避免因时间耽误导致所救动物死亡,通过设置锁扣机构、第一储存盒和第二储存盒,便于兽医救治时携带,第一储存盒和第二储存盒使得液体药物处于竖直放置状态,便面药物流出。
法律进度
  • 2020-11-03 授权 ...

同类专利

咨询该专利

您还可以
推荐专利
{{ v.name }}
取 消 确 定