• 专利申请
    2019-12-06
  • 公布公告
    2020-11-13
  • 授权日期
    2020-11-13
  • 终止
    2030-11-11
一种用于棉纺纱加工的纱线清洗装置
一种用于棉纺纱加工的纱线清洗装置
* 专利信息仅供参考,不具有法律效力。 有效专利
CN201922163196.7 2019-12-06 D06B1/02 {{ classMap["D06B1/02"] }}
泗阳一创纺织有限公司 查看申请人名下所有专利
江苏省宿迁市泗阳县卢集镇全民创业园
专利分类项目
专利注册信息
初审公告期号 2019-12-06 初审公告日期 2020-11-13
注册公告期号 2020-11-13 注册公告日期 2020-11-13
专用权期限 2020-11-13 - 2030-11-11 专利类型 实用新型
代理组织机构 常州佰业腾飞专利代理事务所 查看该机构代理的所有专利
专利介绍
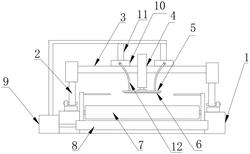
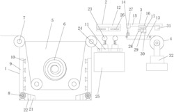
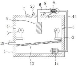
本实用新型公开了一种用于棉纺纱加工的纱线清洗装置,包括第一底座、第二底座、支撑杆、第一电机固定槽、第一电机、第一转轴、纱线筒、第二电机固定槽、第二电机、第二转轴、缠绕筒、水槽、清洗箱体、管道、喷水头、水桶、水管和水泵,本实用新型的有益效果是:本实用结构新颖,制作成本低,能够在棉纺纱加工之前对纱线进行有效的清洗,保证纱线的干净整洁,保证了棉纺纱加工的质量。
法律进度
  • 2020-11-13 授权 ...

同类专利

咨询该专利

您还可以
推荐专利
{{ v.name }}
取 消 确 定