• 专利申请
    2019-12-02
  • 公布公告
    2020-06-19
  • 授权日期
    2020-06-19
  • 终止
    2030-06-17
一种音箱外壳加工用套布组装载具
一种音箱外壳加工用套布组装载具
* 专利信息仅供参考,不具有法律效力。 有效专利
CN201922125245.8 2019-12-02 H04R1/02 {{ classMap["H04R1/02"] }}
广东新意通讯科技有限公司 查看申请人名下所有专利
广东省东莞市大朗镇松木山祥荣路12号
专利分类项目
专利注册信息
初审公告期号 2019-12-02 初审公告日期 2020-06-19
注册公告期号 2020-06-19 注册公告日期 2020-06-19
专用权期限 2020-06-19 - 2030-06-17 专利类型 实用新型
代理组织机构 东莞市永桥知识产权代理事务所 查看该机构代理的所有专利
专利介绍
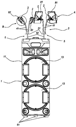
本实用新型涉及音箱外壳加工技术领域,具体涉及一种音箱外壳加工用套布组装载具,所述套布组装载具包括用于放置外壳的载体以及用于套入布料的套环,载体包括套接部、定位部以及固定于套接部和定位部之间的连接部,套环的外侧壁环形阵列有多个用于卡住布料的定位柱,定位部的顶部开设有与套环相配合的容置槽,套环嵌入容置槽内,容置槽的底部设置有多个用于吸附套环的磁铁。本实用新型的套布组装载具可以在外壳外侧壁套入布料,便于将布料贴敷于外壳的外侧壁,且定位柱的设置可以卡住布料,磁铁的设置可以吸附套环进行稳固,结构简单合理,使用方便。
法律进度
  • 2020-06-19 授权 ...

同类专利

咨询该专利

您还可以
推荐专利
{{ v.name }}
取 消 确 定