• 专利申请
    2019-12-02
  • 公布公告
    2020-08-11
  • 授权日期
    2020-08-11
  • 终止
    2030-08-09
一种纠偏贴膜机保护膜纠偏机构
一种纠偏贴膜机保护膜纠偏机构
* 专利信息仅供参考,不具有法律效力。 有效专利
CN201922119218.X 2019-12-02 B65H23/032 {{ classMap["B65H23/032"] }}
广东新意通讯科技有限公司 查看申请人名下所有专利
广东省东莞市大朗镇松木山祥荣路12号
专利分类项目
专利注册信息
初审公告期号 2019-12-02 初审公告日期 2020-08-11
注册公告期号 2020-08-11 注册公告日期 2020-08-11
专用权期限 2020-08-11 - 2030-08-09 专利类型 实用新型
代理组织机构 --
专利介绍
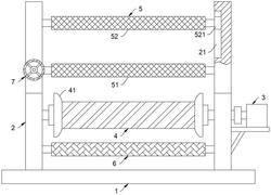
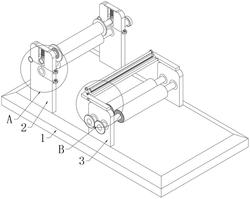
本实用新型公开了一种纠偏贴膜机保护膜纠偏机构,包括第一安装板,所述第一安装板的表面固定连接有滑台气缸,所述滑台气缸远离第一安装板的一侧固定连接有第二安装板,所述滑台气缸的顶部固定连接有纠偏治具板,所述纠偏治具板的顶部固定连接有吸板,所述吸板的底部设置有保护膜,所述第一安装板的表面开设有第一通孔。本实用新型通过第二安装板、纠偏治具板、吸板和保护膜的配合,实现了使用效果好的目的,不具有贴膜纠偏功能,容易出现贴膜偏移的现象,降低了使用者对贴膜机的体验感,不能满足当今市场的需求,由于以上存在的问题,降低了贴膜机的实用性和使用性,解决了以往贴膜机使用效果不佳的问题。
法律进度
  • 2020-08-11 授权 ...

同类专利

咨询该专利

您还可以
推荐专利
{{ v.name }}
取 消 确 定